

英语原文共 17 页,剩余内容已隐藏,支付完成后下载完整资料
脱轨器警报装置
申请人:约翰·麦卡锡,伯索尔托,伊利诺伊州(美国)
作者:约翰·麦卡锡,伯索尔托,伊利诺伊州(美国)
代理人:新材能源公司,伯索尔托,伊利诺伊州(美国)
摘要:安装在脱轨器上的报警系统会自动地警告在相应轨道上的列车和工作人员,脱轨器将要使列车脱轨。该报警系统的组成部分有:一个由电源供电的电路板、一个电子开关和一个电子报警器。这个报警系统被设定成当脱轨器上的一个零件被放置在轨道的钢轨上时,电子开关会自动触发并启动报警器。电子报警器包含一组或多组的一个发声元件、一个接触开关元件、一个嗅觉元件、一个指示灯和一个电子传送装置。
参考资料:这个专利的提出得益于一个于2016年1月29日提出的名字为脱轨器报警装置的设置的美国临时专利,该专利的编号为62/288879。参照上述公开专利的内容也包含在本专利当中。
关于共同提出的研发的声明:无
发明背景:
本发明是一个用于列车或列车轨道上其他设备的报警装置,当列车或列车轨道上其他设备接近脱轨器时会触发脱轨器上的报警装置产生一个信号给即将通过脱轨器的列车或设备,警告其接近脱轨器。
在列车工业领域非常需要对各种各样的列车及其相关设备进行维护和修理,尤其是在高速列车停靠的地点,如各个车辆段。另外,由于各种原因,关闭特定铁路路段是很常见的情况。从长远来看,在特别的时间段阻止那些未被允许的列车或车辆通过特定路段是非常有必要的。当特定路段需要关闭时,最普遍的做法是在轨道上放置一个或多个脱轨器以防止列车或其他列车设备通过该路段。这些脱轨器会将错误行驶的列车或列车设备脱离该轨道到地面上或者到旁边的轨道上。
一般情况下,根据结构的不同将脱轨器分成铰链式、滑落式和活动式。所有这些脱轨器都包含一个放置在铁轨的顶部斜楔。这个斜楔的作用就是当列车穿过脱轨器时,斜楔将列车车轮与脱轨器分离,使列车到达地面或邻近的轨道上。铰链式和滑落式脱轨器都是永久性固定在轨道上,两者的斜楔都有两种状态:激活的和未被使用的,也就是说,当脱轨器未使用时,斜楔可以折叠或拆除下来以允许列车通过。对于铰链式脱轨器来说,斜楔可以通过围绕铰链转动使得脱轨器在激活的和未被使用的两种状态中转换。而对于滑落式脱轨器而言,两种状态的切换就如其名字所说的利用一个滑落的结构来进行斜楔的切换。事实上,所有的铰链式和滑落式脱轨器无论远近也无论是手动和自动都可以使用。
相比之下,活动式脱轨器也拥有两种状态,但只是在短暂地安装在轨道上。为了使列车成功脱轨,有着更重螺栓和夹板的活动式脱轨器将是最安全的设备。
更为重要的是,当安装在轨道上的脱轨器的斜楔处于激活状态时,就意味着脱轨器将可以进行脱轨操作,而列车也有足够的时间注意到脱轨器的状态,以避免不必要的脱轨事件发生。为了提供一个脱轨器已经被激活的警报信息,工作人员需要在活动式或永久式脱轨器附近放置一面蓝旗或一盏闪亮的蓝色灯。
很不幸的是,这样的警报信息将由工人通过放置和撤走旗子和灯来表示脱轨器的状态。虽然不常发生,但是意外的脱轨事件往往都是工人在撤走旗子或灯时忘记移除或解除脱轨器。与此同时,一些脱轨器被设计成包含有一个自动举起蓝色旗子来表示脱轨器处于激活状态的设备,而另一些脱轨器则有一个可以远距离控制的蓝色灯来表示脱轨器的状态。这些改进都确保了脱轨器的状态能被迅速表示出来。
自然而然地,这就需要一个设备能自动地将脱轨器处于激活状态的警报信号提供给附近的列车,而只有当脱轨器的状态变为未使用或脱轨器已经被移除时该警报信号才会取消。从长远来考虑,脱轨器上的警报信号将不再需要一个额外的电源来激活。
正如声明中的陈述一样,现在这个发明的好处将超过已有的技术。
简单介绍以上图画:
在说明书里的图画将用于更加具体地说明这个发明。
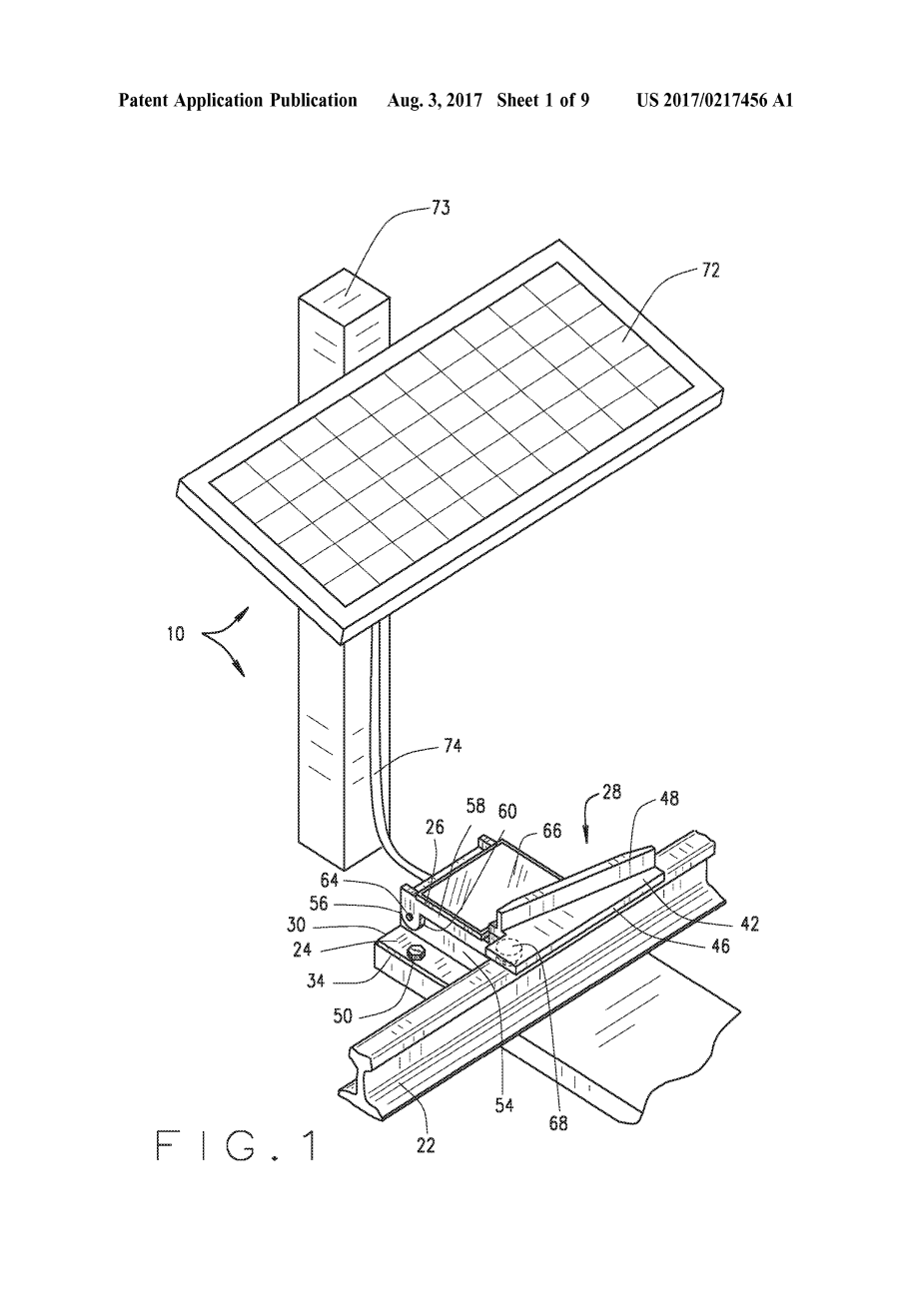
图1描述了一个位于轨道附近的永久性脱轨器的透视图,该图画上包含了这个发明的第一部分。脱轨器上可旋转的斜楔上有一块灯板,灯板通过电缆连接到旁边一根柱子上的太阳能充电器,斜楔通过旋转将脱轨器变成激活状态。
图2描述的是图1中的永久性脱轨器的顶部示意图,通过转动斜楔将脱轨器激活。
图3是关于图1中永久性脱轨器上可旋转灯板和斜楔俯视图,通过转动斜楔将脱轨器激活。
图4同样是关于图1中永久性脱轨器上可旋转灯板和斜楔俯视图,通过转动斜楔将脱轨器恢复到未使用状态。
图5描述了一个位于轨道附近的活动式脱轨器的透视图,该图画包含了这个发明的第二部分。活动式脱轨器上有一个位于斜楔对面的接近传感器,当脱轨器处于激活状态时就会触发这个传感器。活动式传感器通过电缆连接到灯板和太阳能充电系统,太阳能充电系统则位于一根脱轨器旁边垂直的柱子上。
图6描述的是一个位于轨道附近的永久性脱轨器的俯视图,该图画包含了这个发明的第三部分。脱轨器的斜楔上有一块灯板,斜楔下则是一个无线发送模块,无线发送模块发送一个表示脱轨器当前状态的信号给附近一个连接着太阳能充电系统的无线接收模块。通过转动斜楔将脱轨器激活。
图7是一个轨道边的永久性脱轨器的顶部示意图,该图画包含了这个发明的第四部分。脱轨器的斜楔上有一块灯板,灯板连接着斜楔尾部的太阳能充电器上。通过转动斜楔将脱轨器激活。
图8是一幅现在公开的关于脱轨器的电路原理图,也是这个发明在电路方面的第一部分。
图9同样是一幅现在公开的关于脱轨器的电路原理图,也是这个发明在电路方面的第二部分。
通过这几幅图画,整个发明相应的特点都出现在了相应的部分中。
详细描述:
本发明的详细阐述将通过例子的描述而不是描述发明的局限性问题。通过这些描述将使得具备基本技术的人员能制造并使用本发明,从发明的具体化、适用性、多样性和互换性描述将更好的认识并制造出实物。此外,需要了解的是本发明并不局限于下面描述的使用范围,而元件的选用也不局限于上述图中的所使用的类型。还有一点需要注意的是,本发明的目的是涵盖属于本发明的权利要求和本发明范围内的所有替代实施例和修改,以及所公开和声称的发明的任何等价物。因此,本发明能够以其他方式实施和实施。而且,需要理解的是,用的措辞和术语本是描写的目的,不应被视为是本发明的局限性。
回到图纸上来,脱轨器警报系统的第一部分在图1到图4的10中,该部分是如图中所描述的连接到一个与永久性脱轨器铰接的轨道上。进一步举例来说,本发明的第二部分是在图5的100中,该部分是将本发明连接到一个活动式脱轨器。第三部分是图6永久性脱轨器的200中。第四是在图7永久性脱轨器的300中。当然,本发明可以体现在其他类型的脱轨器中配置,例如在一个滑落式永久脱轨器,或将本发明当做一个附加的设备安装在缺少脱轨器警报装置的设备之中。
参照图1到图4,可以看出,在永久性铰链式脱轨器与本发明的警报系统结合的一个实施例子,包括一个扁平的矩形底板24、一个连接到底板一端的扁长方颈板26和一个附着于颈板另一端的细长的脱轨器组件或楔板28。底板有一个近端边缘30、一个远端边缘32和一对在近端边缘和远端边缘之间延伸的平行边缘34。类似地,颈板也有一个近端边缘36、一个远端边缘38和一对在近端边缘36和远侧边缘38之间延伸的平行边缘40。楔板上有一个扁平长方形的重型钢脚踏板42与近边44和平行距离边缘46,在斜楔垂直向上的地方有一个重型钢轮缘48。轮缘材质均匀,高度达几英寸,并且相对于底板的近端边缘44和远端边缘46对角地定位在脚板42的顶部。一组重型螺栓50从底板24的顶部穿过与平行边缘34相邻的底板中的孔52,用以将底板固定在装置的下表面上。
一对平直的轮缘54从底板24垂直向上上升。轮缘54互相平行且与底板24的边缘34平行,并且在平行边缘34向内几英寸的地方从近端边缘30延伸到远端边缘32。轮缘54的高度在一英寸左右,每一个都有一个通孔56,通孔的位置在从底板24向上大约一半的位置,与底板24的近端边缘30的距离大约1英寸。通孔56互相同轴且直径一致。
一对平直的、基本上呈矩形的轮缘58,从颈板26的每一个平行边缘40开始垂直向下下落。轮缘58彼此平行并沿着颈板26的全长延伸。轮缘58的矩形边的高度大约是一英寸。一对半圆形凸台60从每个轮缘58的端部向下延伸到靠近颈板26的近端边缘36。每个凸台60的中心都有一个通孔62。通孔62互相同轴并直径相等还和通孔56互相同轴并直径相等。
颈板26的宽度略大于基板24的宽度,使得轮缘54嵌套在轮缘58内,如图中所示。每个通孔56与通孔62互相匹配对准,直径小于通孔56和62的轴销64延伸穿过通孔56和62的所有四个孔。这样,当四个轴销64安装在通孔56和62中时,颈板26和楔板28可相对于底板24进行转动。
脱轨器10上的底板24的形状和尺寸与相邻的铁路轨道相适应,如铁路轨道22所描述的。当脱轨器10正确安装在轨道旁边时(如图所示轨道22),颈板26和延伸的楔板28可绕轴销64从楔板28静止在轨道22上的第一位置A(如图1-3)旋转到楔板不与轨道22接触的位置,如楔板28位于脱轨器10上部的位置B(见图4)。重要的是,当楔板28位于脱轨器10上的位置A或者十分接近位置A时,楔板28将会上升并将使铁路机车(如机车、列车,或车尾)从轨道22脱轨,此时楔板28的状态就是激活状态。螺栓50可确保安装在底板24上的脱轨器10能稳定地保持在相应的位置。
永久式脱轨器10还包含一套电子元件。灯板66固定连接至颈部板26的上表面,压力开关68连接到位于脚踏板42上的楔板28的下表面,压力开关68朝下放置,当压力从脚踏板42传递到压力开关时,压力开关将被打开。蓄电池70安装在底板24和颈板26之间。面朝上的太阳能充电器72连接到底板24旁的一根柱子73。灯板66作为一个传递警报信号的装置,用于电流供电充足且被激活时发射定时闪烁的光。
蓄电池70的大小足以提供足够的电流在预定的时间内启动给灯板66供电而无需额外充电。太阳能充电器72的尺寸也足以提供足够的电流以在规定的时间内对蓄电池70完全充电,并在平均每日日照量合理的情况下能够维持蓄电池70基本上无限期地充电。如图中74所示,将灯板66、蓄电池70、太阳能充电器72、压力开关68互相连接的电气布线可作为一种参考方案,该方案实现了脱轨器10如本文所述的警报功能的操作。而本领域普通技术人员将认识到脱轨器10的电器元件,从而可以以多种方式进行连接来实现警报功能,图8就是一幅较好的电气原理图。应该指出的是,脱轨器10上一个重要电气元件太阳能电池板电压控制器80将电流从太阳能充电器72直接流到:(i)蓄电池70,在蓄电池70需要充电时;(ii)灯板66;(iii)以上两者。当然,电压控制器通常被集成到太阳能电池板和太阳能电池阵列中。
压力开关68被配置成在未激活的情况下处于OFF位置(即当没有压力施加到压力开关时),可切断蓄电池70和灯板66之间的电流,从而使灯板66处于关闭状态。然而,当颈板26绕轴销64旋转到位置A时,位于楔板28和脚踏板42下面的压力开关68接触到轨道22的顶部,从而激活压力开关68,压力开关68激活后将蓄电池70和灯板66连接起来,从而启动灯板66。然后灯板66提供灯光警报信号,脱轨器10也处于激活状态,并将轨道22附近的机车进行脱轨。相反,当颈板26绕轴销64旋转到远离轨道22的位置时,位于楔板28和脚踏板42下面的压力开关68被释放,压力开关68被关闭,从而切断从蓄电池70到灯板66的电流。为了延长这个警报信号的持续时间,太阳能充电器72将直接提供一个连续的电流给蓄电池70充电。
现在来看图5,本发明的第二个实施例子体现在活动式脱轨器100中。活动式脱轨器100包括一块平整的矩形重型上钢板122,一个重型钢脱轨器件或从上板122垂直向上的楔板124,两块互相平行、从上板122垂直向下延伸的重型钢安装板126和127的。上板122一头是短边128,另一头是平行于短边的128短边130。上板122也有一个长边的132和平行于第一长边的长边134。
安装板126沿其上边缘与上板122的第一长边132垂直焊接。同样地,安装板127沿着其上边缘与上板122的第二长边134以垂直的角度焊接。上板122的宽度,即第一长边132和第二长边134之间的距离,略大于轨道22的宽度,这样安装板126和127在上板122横跨轨道22时都可以跨过轨道22。
楔板124是长直的矩形形状,位于上板122上方几英寸的地方。同时楔板124的安装方向是以上板122的第一长边132和第二长边134的对角线为基准,从第一个短边128延伸到第二短边130,也就是楔板124穿过了上板122的对角线。这就确保了任何铁路机车通过楔板124时都会被脱出轨道22。
每个安装板126和127都有三个孔136水平排列在板的中心,每个安装孔和板的上边缘之间的距离必须大于轨道22上的最大厚度。一组重螺栓138与孔136配合将活动式脱轨器100固定在轨道22上。当然,在螺栓138和安装板126和127之间安装各种垫圈(未示出)。
可以理解,上板122的底面应该位于轨道22的上方,而安装板126和127固定在轨道22下面的肋部上。因此,安装板126和127的高度必须足以使板降到轨道22的上沿之下,但不能太高,因为上板122不能
全文共10726字,剩余内容已隐藏,支付完成后下载完整资料
资料编号:[12648],资料为PDF文档或Word文档,PDF文档可免费转换为Word
您可能感兴趣的文章
- 拟人手臂的轨迹规划与轨迹跟踪控制外文翻译资料
- 新型磁性辅助内窥镜系统在上消化道检查中应用的可行性 和安全性外文翻译资料
- 基于FPGA可编程逻辑器件的复合视频图像处理外文翻译资料
- 从被测的高频域原始信号中提取巴克豪森噪声外文翻译资料
- 重型机床z轴热误差混合建模方法外文翻译资料
- 一个红外浊度传感器:设计与应用外文翻译资料
- 用于控制食物烹饪过程的电子系统.外文翻译资料
- 关于液体介质中电磁流量计的设计和理论上存在的问题。第二部分:关于带电粒子产生的 噪声理论外文翻译资料
- 基于LabVIEW和Matlab的小波变换对非平稳信号的分析仿真外文翻译资料
- 应用于腹腔镜手术的新型膜式加热加湿器 的开发外文翻译资料
