电子计时器开关
摘要
一个可编程定时器,用于响应日落,夏时制时间和其他可编程条件的变化而打开和关闭灯光。可编程定时器包括输入设备,微处理器和开关。输入设备向存储编程信息的微处理器提供日历,地理和夏令时信息。微处理器根据存储的信息计算有效的切换时间。微处理器采用程序逻辑,将有效切换时间与当前时间进行比较,以生成定时控制信号。定时控制信号又导致开关打开和关闭灯。在优选实施例中,微处理器和开关被包括在安装在墙壁上的外壳内,而不是正常的灯开关。液晶显示器设置在壳体的表面上以提供对编程信息和一天中的时间的读出。输入装置设置在壳体的表面上并且包括具有多个手指可设定键型编程开关的键矩阵。通过在编程逻辑处于特定编程模式时按下每个键来编程信息。
本发明一般涉及一种自动灯开关,具体涉及一种可编程定时器,用于使用存储的地理,日历和夏令时信息打开和关闭灯。
发明的研究背景
已知许多自动照明设备提供许多益处和便利。 但是,这些设备受到各种限制。 例如,美国专利 第4,198,574号公开了一种定时控制电路,该电路随着时间的推移打开和关闭灯以给出住所外观的占用。 但是,此设备必须设置为每天。 此外,该设备对机械设置作出响应并因此具有有限的打开和关闭图案。 此外,该设备需要一个光电池输入在弱光条件下打开。 美国专利号4,349,748公开了一种定时器和功率控制系统,其响应可旋转控制盘的连续前进。 这个系统也是有限的,因为它本质上是一个机械控制的系统。
美国专利3,739,226公开了一种用于安装到电壁装插座的应急灯电路。 当主电源发生故障或环境光强度低于预定水平时,该设备将取代墙壁开关并使用可充电电池为灯光通电。 该设备也是光电池响应。
因此,可以看出,已知的自动装置具有几个缺点。 首先,这些设备之前已经对基本的机械设置作出了响应,并且因此在可用的开/关模式的数量方面相对受到限制。 特别是,这些设备在白天可用的开/关设置种类有限,而且在日常开关模式方面的灵活性更差。
另外,这些设备需要光电池输入来响应不断变化的光照水平。 然而,光电池安排增加了照明控制系统的成本和复杂性,有时必须远离开关系统本身的其他部分,并且不会增加高度的灵活性或响应于时间变化而开启/关闭准确度。 而且,这些系统还不能根据地理位置,一年中的前几天或夏时制时间的变化自动调整由夕阳变化引起的变化的光照条件。
发明内容
本发明提供了一种可编程定时器,用于响应于日落,夏令时和其他可编程条件的变化而打开和关闭灯。 可编程定时器包括输入设备,微处理器和开关。
输入装置将编程信息提供给存储编程信息的微处理器。 微处理器根据存储的信息计算有效的切换时间。 微处理器采用程序逻辑,将有效切换时间与当前时间进行比较,以生成定时控制信号。 定时控制信号又导致开关打开和关闭灯。
在一个实施例中,微处理器和开关被包括在安装在墙壁上的外壳内以取代普通的灯开关。 液晶显示器设置在壳体的表面上以提供节目信息和一天中的时间的读出。 输入装置设置在壳体的表面上并且包括具有多个手指可设定键型编程开关的键矩阵。 通过在编程逻辑处于特定编程模式时按下每个键来编程信息。 输入装置和液晶显示器可以凹入壳体的表面中。
当结合附图和所附权利要求考虑时,根据以下对实施例的描述,本发明的上述和其他目的,方面,特征和优点将变得更加明显。
附图的简要说明
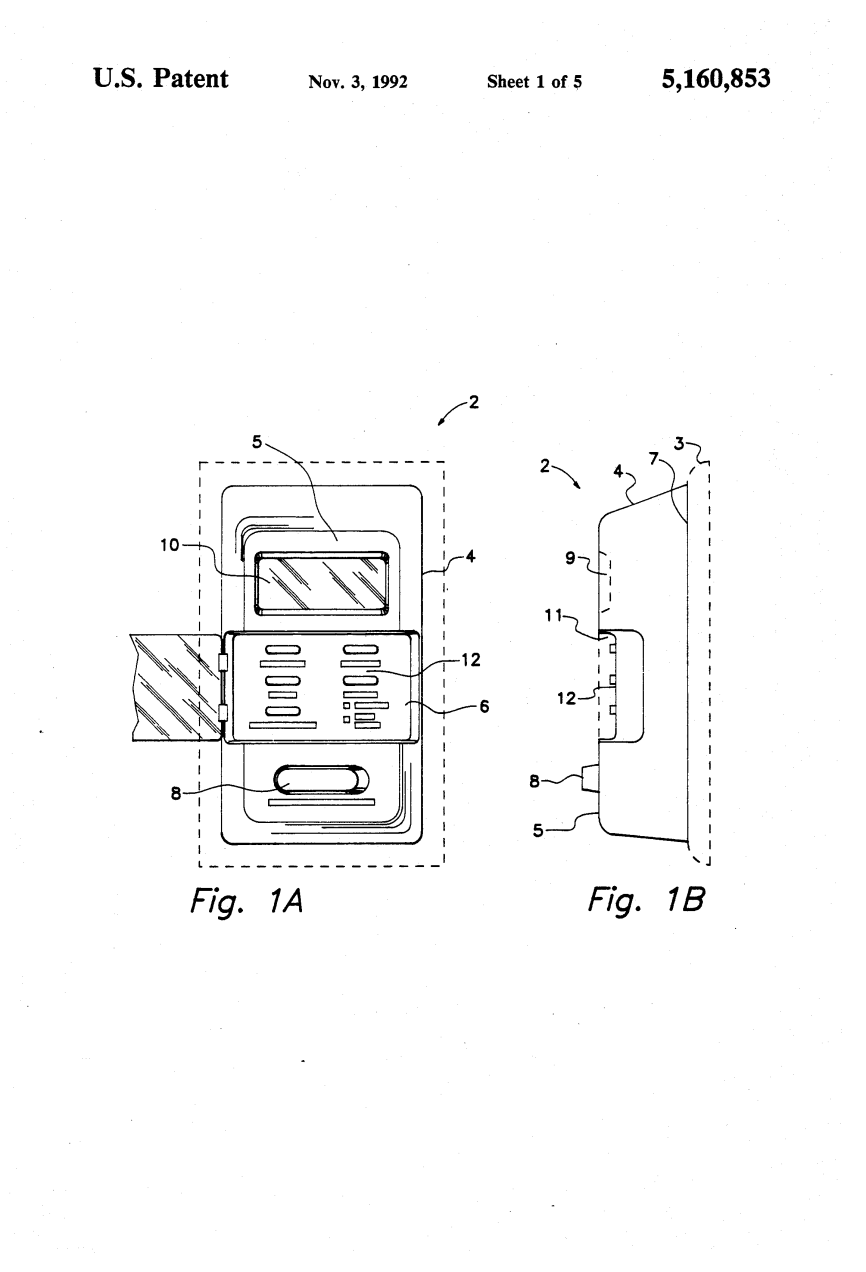
图1A是根据本发明的可编程照明开关装置的前视图:
图1B是根据本发明的可编程照明开关设备的侧视图;
图2是根据本发明的可编程照明开关装置中包括的电路图。 图3是根据本发明的微处理器使用的程序的逻辑图; 和
图4是根据本发明的用于产生定时控制信号的定时器控制程序的逻辑图。
图5显示了为了表示各种编程模式而显示的图示。
发明详述
本发明提供了一种可编程电子定时器,其可用于为各种应用提供定时信号,例如控制对灯或其他电负载的供电。 本发明是自包含的,也就是说,它不需要光电池或其他外部设备来响应变化的日落条件。 定时器可以设置为在一天中随时按需要打开和关闭。 在优选实施例中,定时器被包括在可编程灯开关装置中,用于随时间以可变,自动和精确的方式打开和关闭灯。
本发明的电子计时器可以代替普通的灯开关并直接安装在墙上。 根据存储的节目信息,计时器将在一天中自动打开和关闭多次灯光。 可编程定时器还包括一个手动开/关开关和一个液晶显示屏,可以作为读出的程序和时钟。
通过按下设定模式,程序,小时,分钟,标准时间,时间跟踪器和复位条件的按钮式编程键来编程本发明。 可编程开关还带有可充电电池,可在安装前进行编程。 可充电电池在断电期间也为可编程定时器供电。 可编程定时器可以安装在具有隐藏螺钉的墙壁上,位于下控制面。
现在参考图1A, 图1A是根据本发明的一个实施例的可编程电子定时器的前视图。 如图所示。 如图1A所示,定时器2包括外壳4.外壳4具有表面5,表面5上安装定时器的若干其他部件,包括可编程输入设备6,显示器10和手动开关8.在优选实施例中,可编程 输入装置6由多个可压下的键型开关组成,以下称为键矩阵。显示器10是优选实施例中的液晶显示器。 手动开关8是具有开启,关闭和自动设置的三位滑动开关。
图1B是根据本发明的可编程电子定时器的侧视图。 可编程定时器2被示出为安装在墙壁3上。定时器2包括壳体4,壳体4具有构造成在墙壁3上齐平安装以替代标准灯开关的后部7。
显示器10位于显示器凹部区域9中,按键矩阵12位于编程凹部区域11中。开关8可滑动并且显示为从壳体4的表面5略微突出。外壳4包含控制和开关电路, 此后统称为定时器控制电路。 图1中示出了根据本发明的定时器控制电路的一个实施例。 2.图2中的定时器控制电路20。 2接收120伏交流电并在受控的基础上输出120伏交流电。
作为电路20的结构和操作的简要概述,注意到电路20包括电压控制电路,微处理器,可编程输入设备和相关电路以及开关电路。
微处理器和编程电路用于选择性地控制开关电路。可编程输入设备向微处理器提供时间,地理,夏令时,模式和其他编程控制信息。
根据存储在微处理器中的编程信息,微处理器向开关控制电路提供定时器控制输出信号以打开和关闭开关。因此,电路20根据期望的照明目标打开和关闭灯。讨论图。更详细地,在图2中可以看出,具有线路16和18的120伏交流输入耦合到浪涌信号抑制器电路22.线路16被分接并直接通过线路28耦合到开关46的输入侧。输出开关46的一侧通过线路48耦合到灯70.线路60从线路18耦合并且还直接连接到灯70。
开关46由开关控制电路44有选择地开启和关闭。开关控制电路44又由来自微处理器40的定时器控制输出控制。通过编程来自按键矩阵50的输入和通过其编程逻辑来控制微处理器40。 开关控制电路44和微处理器40通常都需要稳压输入。 因此,电压控制电路被包括在120伏交流输入和开关控制电路44和微处理器40的输入之间。因此,输入线16和18最初连接到浪涌信号抑制器
来自浪涌信号抑制器22的一个输出线通过电压降电路24耦合到整流电路26.来自抑制器22的第二输出线直接耦合到整流器26。
整流器电路26将AC输入转换成DC。整流器26的输出端耦合到低压调节器30.低压调节器30将DC电压保持在恒定电压。低电压调节器30的一个电力输出端耦合到输入以切换控制电路44以为操作开关控制电路44提供电力。
低压调节器30的另一个功率输出被提供给额外的电路,该额外的电路在提供给微处理器之前进一步调节电压
将来自低压调节器30的第二电力输出提供给微控制器电源电压调节器32.微控制器电源电压调节器32操作以将微处理器40的输入电压保持在非常窄的范围内。微控制器电源电压调节器32的输出端耦合到可再充电电源存储装置
这种可充电电源可以是,例如,电池。
可再充电电源34的第一线路输出端连接到微处理器40的输入端和连接到滤波器电路36的输入端。来自可再充电电源34的第二线路输出端连接到复位开关58的输入端和输入端低电压开关38。
微处理器40通过编程来自按键矩阵50,低压开关38和复位开关58的输入来控制。微处理器40包括存储器(未示出)。应该理解的是,复位开关58可以与钥匙矩阵50中的其他开关物理地定位。按键矩阵50包括多个手指可设置的编程开关。在本发明的一个实施例中,每个开关由按下时完成电路的圆顶型按钮组成。每个开关的输入侧耦合到来自微处理器40的输出,并且每个开关的输出侧耦合到输入
到微处理器40.因此,微处理器40在特定键被按下时感测完整电路(即电压变化)。
低压开关38对应于图3的三位滑动开关8。 1并具有“开”,“关”和“自动”开关。这些开关由两侧开关触点组成。导通触点的一侧连接到来自可再充电电源装置34的第二输出线。“自动”触点具有处于浮动位置的一侧。 “关”触点具有耦合到键矩阵50的输入锁定设置键,功能键和时间跟踪器键的一侧。
当开关滑入“开”,“关”或“复位”位置时,“断开”,“接通”和“复位”触点的第二侧耦合到微处理器40的相应输入。 当开关未滑入该位置时,第二个触点悬空。 可滑动开关38始终处于三个位置之一。
复位键58的一侧接收来自可充电电源的第二电源线输出的电了34.复位开关58被电容器59旁路。复位键的第二侧耦合到滤波器电路36。
滤波器电路36还接收来自可再充电电源装置34的第一电力线输出。滤波器电路36的输出端耦合到微处理器40的输入端。液晶显示装置42对应于图1中的显示器10。 1A耦合到微处理器的输出40。
微处理器40还具有向开关控制电路44提供定时器控制信号的输出。该时间控制信号使开关控制电路44断开或闭合开关46以选择性地向接收光或其他负载提供电力。定时器控制电路20响应于与图2的可编程输入设备6对应的按键矩阵50。 1A。密钥矩阵50包括多个
根据本发明的编程键。键矩阵50包括锁定/设定键51,功能键52,时间跟踪器键53,分/日期键54,夏令时/标准时间键55,小时/月键56,编程/区域键57和重置键58.每个键提供两种编程模式,取决于它是否被按下。
锁定/设置键51启用和禁用键矩阵中的其他编程键。
功能键52用于通过各种编程模式顺序移动定时器。
时间跟踪器键53允许编程日落时间跟踪功能。
分钟/日期键54用于对分钟和日期进行编程。
夏令时/标准时间键55用于编程节省时间条件,并将当前时间增加或减少一小时以对应夏时制或标准时间。
小时/月键56用于编程小时和月份。
编程键57用于编程一天中灯的开/关时间。在一个实施例中,编程钥匙可以操作以提供多达八个开/关设置(四个开;四个关)。复位键58用于清除先前存储在存储器中的程序。
现在将参考图1和2中描绘的逻辑流程图来描述根据本发明的键矩阵50和微处理器40的操作。
图3是控制微处理器和键矩阵中的编程键之间的交互操作的编程逻辑的逻辑流程图
为了启动可编程设备的操作,微处理器通过按下复位键来复位。此重置初始化在中使用的某些参数编程功能将在下文中更详细地提及。
首先,微处理器设置项目数量并清除其内容。微处理器还将定时器控制输出信号初始化为关闭。微处理器还启动新日历日的程序控制。通常,这个初始步骤重置所有相关的参数以进行处理。所有参数初始化后,程序逻辑会显示存储在微处理器内存中的信息。
本发明以两种基本模式中的任何一种操作:编程模式(“设定”)或非编程模式(“锁
全文共14353字,剩余内容已隐藏,支付完成后下载完整资料


英语原文共 23 页,剩余内容已隐藏,支付完成后下载完整资料
资料编号:[9109],资料为PDF文档或Word文档,PDF文档可免费转换为Word
您可能感兴趣的文章
- 拟人手臂的轨迹规划与轨迹跟踪控制外文翻译资料
- 新型磁性辅助内窥镜系统在上消化道检查中应用的可行性 和安全性外文翻译资料
- 基于FPGA可编程逻辑器件的复合视频图像处理外文翻译资料
- 从被测的高频域原始信号中提取巴克豪森噪声外文翻译资料
- 重型机床z轴热误差混合建模方法外文翻译资料
- 一个红外浊度传感器:设计与应用外文翻译资料
- 用于控制食物烹饪过程的电子系统.外文翻译资料
- 关于液体介质中电磁流量计的设计和理论上存在的问题。第二部分:关于带电粒子产生的 噪声理论外文翻译资料
- 基于LabVIEW和Matlab的小波变换对非平稳信号的分析仿真外文翻译资料
- 应用于腹腔镜手术的新型膜式加热加湿器 的开发外文翻译资料
