

英语原文共 19 页,剩余内容已隐藏,支付完成后下载完整资料
抽象
冷却系统控制器控制冷却系统,该冷却系统至少具有构造成向内燃机供应冷却剂的冷却剂泵(3),构造成冷却冷却剂的散热器(9)以及构造为废气回收系统(6)的废热回收系统以在废气和冷却剂之间进行热交换。此外,冷却系统控制器(12)具有构造成控制冷却剂流量的单元,构造成获得发动机的内部冷却剂通道的冷却剂温度或压力的单元(13),以及构造成获得内部冷却剂通道冷却剂温度或排气热回收系统的压力。发布分类此外,冷却剂流量在内燃机的冷启动时被限制,并且冷却剂流量的限制基于冷却剂温度或压力发动机冷却剂通道以及排气热回收系统的内部冷却剂温度或压力。
图一
图二
图三
图四
图五
图六
图七
图八
图九
图十
图.十一
图.十二
图.十三
冷却系统控制器和控制冷却系统的方法
技术领域
冷却系统技术领域本发明涉及一种冷却系统
内燃机的控制。
背景技术
[001]JP2008-274885A公开了一种构造,其具有排气热回收系统,该排气热回收系统设置在排气通道中以通过内部地流动穿过内部的冷却剂而将排气的热量回收到冷却剂
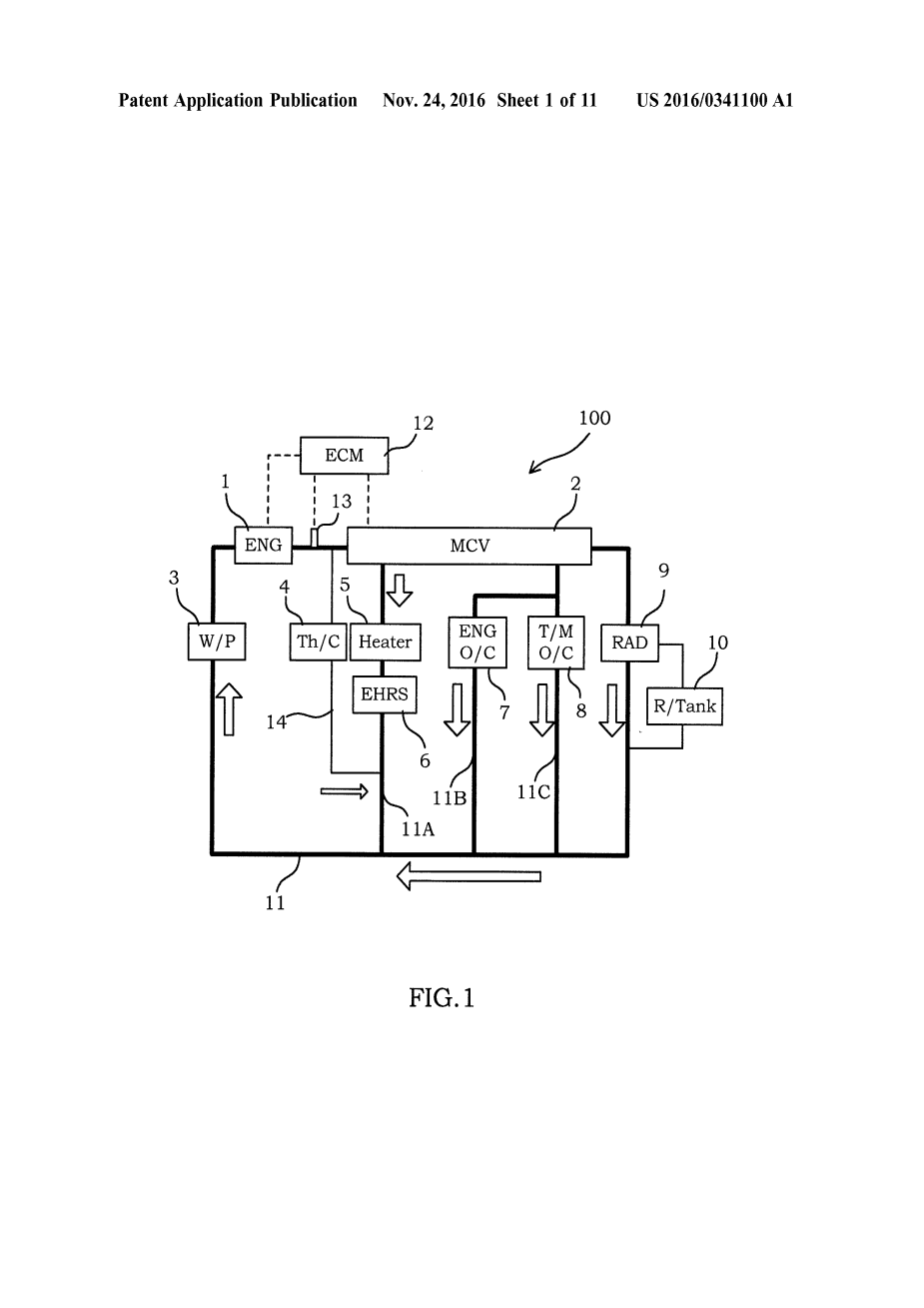
内燃机。另外,
[002]JP 2008-274885 A公开了从防止内燃机内的冷却液沸腾所需的冷却液流量和防止排气热回收系统内的冷却液沸腾所需的冷却液流量中选择较高的值的控制,作为在冷却系统内循环的冷却剂的流量。
同时,JP2007-218115A公开了一种控制,其中在内燃机起动时冷却剂流量被限制(零流量控制),并且冷却剂流量的限制作为冷却剂温度在发动机的出口管达到自动温度控制器的阀打开温度。 [003]在JP2007-218115A中公开的控制器,在发动机启动时限制通过内燃机的流量,从而限制从内燃机排出到冷却剂的热量。因此,可以缩短内燃机预热之前的时间(预热时间)。另外,当冷却剂温度达到自动温度控制器的阀打开温度时,释放冷却剂流量的限制,从而可以防止冷却剂沸腾。
发明内容
[004]然而,JP2008-274885A未公开用于缩短冷启动时的预热时间的控制。同时,JP 2007-218115A未考虑设置在排气通道中的排气热回收系统的构造。
[005]也就是说,在现有技术中没有讨论具有排气热回收系统的系统的控制,其能够缩短预热时间并且防止冷却剂沸腾。另外,即使将JP2007-218115A的技术与JP2008-274885A的技术组合,仍然担心在冷却剂流动的限制之前排气热回收系统的内部冷却剂沸腾费率被释放。
[006]因此,本发明的目的是提供一种冷却系统控制器,该冷却系统控制器能够防止内燃机和废热回收系统内部的冷却剂沸腾,并且能够缩短冷启动后的预热时间在排气通路中具有排气热回收系统的系统中。
[007]根据本发明的一个方面,提供了一种冷却系统控制器,用于控制至少具有冷却剂泵的冷却系统,所述冷却剂泵构造成将冷却剂供应到设置在内燃机中的发动机冷却剂通道,热量散热器配置为从经过发动机冷却剂通道的冷却剂向外部空气辐射热量以降低冷却剂的温度;以及排气热回收系统,配置为从内燃机的排气到冷却剂。
附图说明
[0008]附图说明图1是示出根据本发明实施例的冷却系统的示意图;
[0009]图2是示出示例性水泵的图;
[0010]图3是示出另一个示例的图
水泵;
[0011]图4是图示示例的图
多流量控制阀;
[0012]图5是示出另一个示例性多流量控制阀的图;
[0013]图6是表示图5的结构的图
废热回收系统;
[0014]图7是用于确定零流量控制操作是维持还是释放的流程图。
[0015]图8是用于判定是否有加热要求的流程图。
[0016]图9是用于在冷却剂的流动停止时估计排气热回收系统的内部冷却剂温度的框图。
[0017]图10是示出另一个示例性冷却系统的示意图;
[0018]图11是表示用于在冷却剂流动时估计排气热回收系统的内部冷却剂温度的构造的框图。 [0019]图12是示出另一个示例性冷却系统的示意图。和
[0020]图13是表示冷却液温度与每单位时间产生的气泡量的关系的图。
具体实施方式
[0021]现在将参照附图对本发明的实施例进行描述。
[0022]图1是示出根据本发明实施例的冷却系统100的示意图。在冷却系统100中,设置在内燃机1(以下也称为“内燃机1的出口管道”)中的冷却剂通道的出口,散热器9的入口,出口设置在内燃机1中的制冷剂通路的入口(以下也称为“内燃机1的入口管道”)的入口经由制冷剂通路11彼此连接。在散热器9的出口与内燃机1的入口管道之间插入水泵(冷却剂泵)3。应该指出,类似于已知的散热器,散热器(散热器)9具有储存器10。
[0023]用于检测冷却剂温度(在下文中,也称为“冷却剂温度”)的冷却剂温度传感器(发动机侧条件获取单元)13被布置在冷却剂通道11的出口管道中
由冷却剂温度传感器13检测到的冷却剂温度由作为排热回收系统内部条件获取单元的控制器(发动机控制模块:ECM)12读取。它是注意到,冷却剂温度传感器13类似于安装用于检测在已知车辆中控制内燃机所必需的冷却剂温度的传统传感器,并且不被解释为本发明的新颖部件。 另外,由冷却剂温度传感器13检测到的内燃机1的出口管道的冷却剂温度被认为是所提供的冷却剂通道的内部冷却剂温度在内燃机1中。
[0024]通过使用水泵3将冷却剂供应到内燃机1.从内燃机1通过内燃机1的冷却剂通路输出的冷却剂通过使用散热器9,然后通过使用水泵3重新供应到内部燃烧发动机1.该循环是重复。
[0025]这里,将更详细地描述水泵3。水泵3只要能够可变地调整制冷剂通路11的制冷剂流量即可。
[0026]图2是示出根据本发明实施例的水泵3的示意图。图中的箭头表示冷却剂的流动。水泵3通过将叶轮43可旋转地容纳在壳体3A中而形成。安装有离合器(冷却剂流量控制单元)41的泵轮由叶轮43的旋转轴43A固定地支撑。带42环绕在泵轮41上,并且发动机皮带轮40由发动机皮带轮40的曲轴1A固定地支撑在该构造中,在内燃机1运转并且泵皮带轮41的离合器被锁定的同时,叶轮43通过内燃机1的驱动力而转动。结果,可以通过使用水泵3将冷却剂供应给内燃机1.随着离合器被释放,叶轮43停止,并且也停止向内部燃烧发动机1供应冷却剂。在这种情况下,通过间歇地锁定和释放离合器,可以控制供应给内燃机1的冷却剂的量。
[0027]图3是示出根据实施例的另一示例性水泵3的示意图。在图1中,在图3中,箭头表示冷却剂的流动。参考图1。如图3所示,类似于图3的配置。如图2所示,当叶轮43旋转时,通过使用水泵3将冷却剂供应给内燃机1。如图2所示,叶轮43由电动机(冷却剂流量控制单元)50驱动。通过控制电动机50的旋转速度,能够使用图3的流量控制冷媒流量。
回到图5。
[0028]如图1所示,在内燃机1的排出管与散热器9的吸入口之间,制冷剂通路11分支为包括加热器5和排热回收系统(EHRS)6的制冷剂通路11A,制冷剂通路11B包括内燃机油冷却器7以及包括变速器油冷却器8的冷却剂通道11C。
[0029]应注意的是,内燃机油冷却器7和变速器油冷却器8用于在正常运行中冷却发动机油和变速器油。但是,当冷却液温度必然高于机油a时。
[0030]加热器5和排气热回收系统6按冷却剂流量串联布置。此外,冷却剂通道11B和11C是通过在冷却剂通道11的分支点上划分一个通道形成的。
[0031]冷却剂通道11A, 11B和11C respec-。
在排气热回收系统6、内燃机油冷却器7和跨式油冷却器8的出口侧,加入冷却剂通道11的输出。
[0032]安装了一个多流量控制阀(MCV) 2。
冷却剂通道11的brandling点。此外,一个
冷却剂通道14从冷却剂通道11到节流阀室4,在内燃发动机的出口管道和多流量控制阀2的进气口之间。
[0033]有人指出,冷却剂流过冷却剂通道14时的流速明显低于流经冷却剂通道11的冷却液流速,几乎可以忽略不计。
[0034]在这里,多流量控制阀2和排气热回收系统6将会有更详细的描述。
[0035]图4是根据实施例说明多流控制阀2的示意图。多流量控制阀2的外壳2A有一对。
开孔2C和2D,除了打开的2B连接到冷却剂通道11,从内燃机的出口管道和打开的2E连接到冷却剂通道11延伸到散热器9。2、2、2、2、2、2、2、2、2、2、2、2、2、2、2、2、2、2、2、2、2、2、2、2、2、2、2、2、2、2、2、2、2、2、2、2、2、2、2、2、2、
[0036]一个阀体60,可旋转地安置在住房2A中。阀体60块在阀门关闭状态下整体开口2C到2E,如图4所示。当阀体60在这个状态顺时针旋转时,首先打开2C。然后,打开2D打开,最后打开2E。也就是说,通过控制阀体60的旋转角度,可以选择冷却剂流通道。
[0037]图5是另一个示范性多流量控制阀2的示意图。
体现。图5的多流量控制阀2。
在每一个开口2 - 2E中提供电磁阀70,而不是阀体60(图4)。因此,通过控制每个电磁阀70,可以选择冷却剂流通道。
[0038]图6是一个示意图,描述了一个排气热回收系统6根据栓塞。排气热回收系统6使它成为可能。
为了在冷却剂和内燃机的废气之间进行热交换,将废气的热量回收到冷却剂。例如,回收的热量被用来调节空气或促进发动机的运转。
[0039]排气热回收系统6安装在内燃机1的排气通道内,内部设有热交换通道24,以暴露于废气中。冷却剂通道11A连接到每个入口端口23和热交换通道24的出口端口25。
[0040]一个旁路通道,绕过了排气的热量。
回收系统6分支从排气通道20。一个在排气通道20和旁路通道21之间的分支点上,有选择地将排气通道进入排气通道20或旁路通道21的旁路阀22。
[0041]有人指出,净化废气的催化转化器(未显示)是由排气通道20和旁路通道21之间的汇合部分排在下游的。
[0042]水泵3,多流量控制阀2,
上面描述的旁通阀22由控制器控制。ecm12是一个具有中央处理器(CPU)、只读存储器(ROM)、随机存取存储器(RAM)和输入/输出接口(I/O接口)的微型计算机。ECM 12可能是多个微型计算机。
[0043]接下来,将对该控件进行描述。
发动机冷却系统启动运行。
[0044]当冷却剂在冷启动时流过内燃机的内部时,冷却剂吸收内部com- bustion引擎1产生的热量,从而使内部温度上升。
燃烧引擎1被延迟。在这方面,ECM 12执行了一个所谓的零流量控制,用于在冷启动操作中限制冷却系统内部的冷却液流率。
[0045]当冷却剂流量受到限制时,冷却剂吸收的热量减少,使时间流逝,直到内燃发动机1有一个升温状态可以缩短,而与此为零。
流控制没有执行。
[0046]注意到“零流量控制”是指将冷却剂流量降低到约10%的操作,以及将冷却剂流量设置为完全零的操作。也就是说,在图1的配置中,一种将开口2度的开口限制为2E的操作。
通过驱动水泵3和使用多流量控制。
阀门2也被认为是零流量控制。在这种状态下,当冷却剂从内燃机1流向节流室4时,冷却剂通道14的冷却液流量可以忽略不计。因此,有可能得到充分的效果。
缩短预热时间。
[0047]在零流量控制过程中,内燃机温度升高1。因此,冷却剂的透射率在零流量后迅速上升。
控制释放。
[0048]图7是一个流程图,说明了在发动机启动后是否继续或释放零流量控制的控制例程。控制例程以10毫秒的间隔重复。[0049]在step SI 00中,ECM 12决定是否。
不执行零流量控制。当确定零流量控制被执行时,将执行步骤S110的过程。否则,控制例程就是termi-。
[0050]在步骤S110中,ECM 12决定是否有下面描述的加热请求。当确定有加热请求时,零流量。
step S150的控制被释放,常规是terminat之后。否则,当它确定没有。
加热请求,执行步骤S120的过程。当有加热要求时,零流量控制被释放,因为有必要将冷却剂循环到加热器5,以便进行加热操作。
0051]在这里,如何确定是否有供暖请求将被描述。
[0052]图8是说明控制例程的流程图,用于确定是否有加热请求。这种控制程序也会在短时间内重复。比如10毫秒。
[0053]在步骤S200中,ECM 12决定是否在空调中设置自动模式。注意,当设置自动模式时,会产生空气爆炸量或。空气出口被自动控制,以改变一个舱室温度到一个设定温度由一个驱动。相比之下,当手动模式设置时,驾驶员会手动设置空气爆炸量或空气出口。
[0054]当设置自动模式时,ECM 12执行步骤S210的过程。当手动模式设置时,ECM 12执行步骤S260的过程。[0055]在S210中,ECM 12决定设置温度是否等于或高于
全文共12314字,剩余内容已隐藏,支付完成后下载完整资料
资料编号:[15734],资料为PDF文档或Word文档,PDF文档可免费转换为Word
您可能感兴趣的文章
- 拟人手臂的轨迹规划与轨迹跟踪控制外文翻译资料
- 新型磁性辅助内窥镜系统在上消化道检查中应用的可行性 和安全性外文翻译资料
- 基于FPGA可编程逻辑器件的复合视频图像处理外文翻译资料
- 从被测的高频域原始信号中提取巴克豪森噪声外文翻译资料
- 重型机床z轴热误差混合建模方法外文翻译资料
- 一个红外浊度传感器:设计与应用外文翻译资料
- 用于控制食物烹饪过程的电子系统.外文翻译资料
- 关于液体介质中电磁流量计的设计和理论上存在的问题。第二部分:关于带电粒子产生的 噪声理论外文翻译资料
- 基于LabVIEW和Matlab的小波变换对非平稳信号的分析仿真外文翻译资料
- 应用于腹腔镜手术的新型膜式加热加湿器 的开发外文翻译资料
