

英语原文共 12 页
2空气悬架总成
发明者:伊恩·罗斯(Iain Rose),卢顿床(Luton Beds)(GB);乔斯林·马尔坎德(Jocelyn Marchand),勒瓦洛伊斯·佩雷特(Levalois Perret)(FR);多米尼克·法内利(Dominique Fanelli),布弗蒙特(Bouffemont)
摘要:空气悬架组件包括顶部和活塞。波纹管连接顶部和限定第一腔室的活塞。活塞包括上部,该上部限定了与第一腔室连通的孔。主体从上部向外延伸到限定第二腔室的近端。分离器设置在孔中,与第一腔室和第二腔室连通。分离器包括分隔构件,该分隔构件延伸穿过分离器,将第一室与第二室隔离,以响应于施加到空气悬架组件的压力而改变压力。分离器包括设置在孔中的帽部分,限定孔,以及从帽部分向外延伸到远端的延伸部分,该延伸部分限定与孔,第一腔室和第二腔室连通的第三腔室,以容纳所述分隔构件。
空气悬架总成
相关申请的交叉引用
[0001]该应用要求临时申请服务。序号为62/398,131的作品在2016年9月22日被收录,其内容通过引用整体并入本文。
发明背景
1.发明领域
[0002]本发明一般涉及空气悬架组件。
2.现有技术说明
[0003]空气悬架总成通常用于车辆的轴/悬架系统。空气悬架总成起到缓冲行驶、抑制振动和稳定车辆的作用。一种这样的空气悬架组件在美国公开。专利申请2011/0049774公开了一种空气悬架组件,其包括位于中心轴线上的顶部。活塞设置在与顶部间隔开的中心轴上。弹性材料的波纹管围绕中心轴线延伸,该第一端固定到顶部,第二端固定到连接顶部和活塞的活塞,限定了在顶部和活塞之间延伸的第一腔室和波纹管。活塞包括上部,该上部限定设置在中心轴线上的孔,该孔与第一腔室气体连通。活塞包括从上部向外延伸并围绕中心轴线延伸到近端的主体,该近端限定在主体和上部之间延伸的第二腔室。分离器设置在上部的孔中,该孔附接到活塞并且与第一腔室和第二腔室气体连通。
发明内容
[0004] 本发明提供一种包括分离器的空气悬架组件,其中分离器包括分隔构件,该分隔构件横向地延伸穿过分离器,将第一室与第二室隔离,并限定第一容积和第二容积,用于改变第一室中的压力响应于施加到空气悬架组件的压力,通过改变第一容积和第二容积来改变第二腔室。第一腔室的第一容积在分隔构件,顶部,活塞和波纹管之间延伸。第二腔室的第二容积在分隔构件和主体之间延伸。
本发明的优点
[0005] 本发明在其最广泛的方面提供了一种空气悬架组件,其在低振幅冲程下具有柔软的刚度等级,这改善了驾驶员的整体乘坐舒适性和在大振幅冲程下的刚度等级,这改善了操纵和侧倾稳定性。此外,通过消除先前在其他空气悬架组件中使用的电动阀。本发明使得成本降低和质量减少以及能量消耗降低。
附图的简要说明
[0006] 本发明的其它优点将是容易理解的,因为当结合附图考虑时,通过参考以下详细描述,可以更好地理解本发明的优点,其中:
[0007]图1是空气悬架总成的横截面透视图.
[0008]图2是空气悬架总成的另一个实例的横截面透视图,包括分离器的另一个实例.
[0009] 图3是如图1所示的分离器的放大的横截面透视图。
[0010] 图4是空气悬架组件的替代实施例的横截面透视图,其包括具有滑动引导件的分离器的替代实施例。
[0011] 图5是包括第一壳体和第二壳体的空气悬架组件的替代实施例的横截面透视图。
有效实施方案的描述
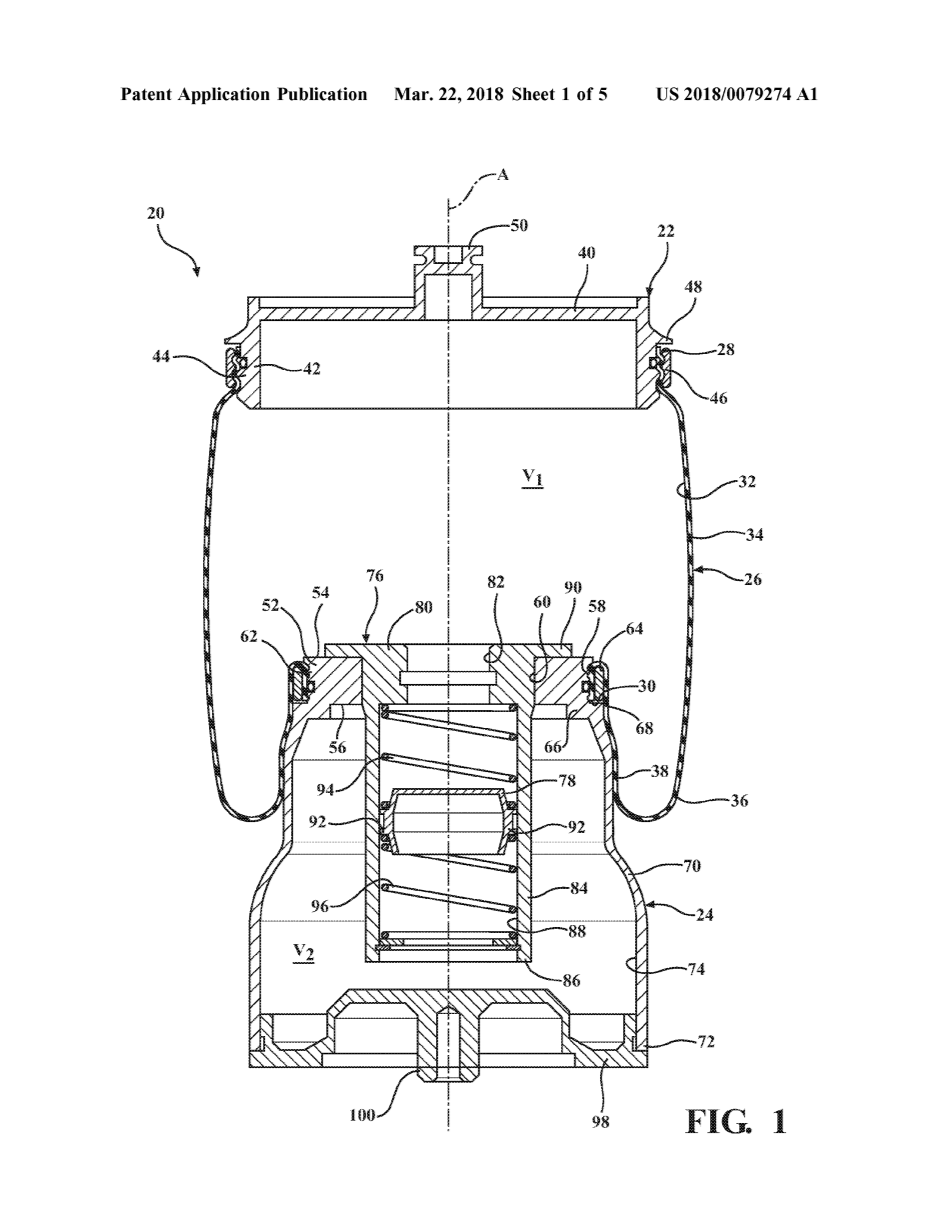
[0012] 参照附图,其中相同的数字在几个视图中表示相应的部件,用于车辆的空气悬架组件20总体上在图1中示出。
[0013] 空气悬架组件20,如图1中大致所示。如图1所示,顶部22包括设置在中心轴线A上的顶部22。顶部22可以具有圆柱形状并且具有倒U形横截面。活塞24设置在中心轴线A上,与顶部22隔开。活塞24可以具有倒杯形状并且具有倒U形横截面。弹性材料的波纹管26具有管状形状,设置在中心轴线A上并围绕中心轴线A在第一端28和第二端30之间环形地延伸。波纹管26的第一端28固定到顶部22,波纹管26的第二端30固定到活塞24,活塞24限定在顶部22,活塞24和波纹管26之间延伸的第一腔室32。换句话说,波纹管26将顶部22连接到活塞24,在顶部22,波纹管26和活塞24之间形成第一腔室32。
[0014] 波纹管26具有外套筒34,外套筒34从波纹管26的第一端28延伸到中间端36,中间端36与中心轴线A平行。外套管34可以是管状。波纹管26还包括内套筒38,内套筒38从波纹管26的中间端36以弧形形状朝向中心轴线A并朝向波纹管26的第一端28延伸,与中心轴线A平行。并且外套筒34到第二端30以接合活塞24。
[0015] 顶部22包括设置在中心轴线A上的板40,该板限定了围绕板40延伸的边缘。板40可以具有圆形形状。具有圆柱形状的侧壁42以与中心轴线A平行的关系垂直地从板40的边缘向外延伸。侧壁42包括多个彼此间隔开的突起44,突起44从侧壁42向外延伸并且以与中心轴线A垂直的关系环形地围绕侧壁42,以接收波纹管26的第一端28。具有圆形形状的第一环46设置在波纹管26上,波纹管26的第一端28围绕顶部22的侧壁42环形地延伸,以将波纹管26固定到顶部22的侧壁42。换句话说,波纹管26的第一端28被第一环46夹在并固定在第一环46和顶部22的侧壁42之间。侧壁42包括凸起48,凸起48具有三角形横截面,邻近凸起44和板40的边缘设置,从侧壁42向外延伸并围绕侧壁42环形地接收第一环46。具有圆柱形状的第一衬套50设置在中心轴线A上并且从中心轴线A向外延伸,远离侧壁42,并且沿着中心轴线A,用于将空气悬架组件20固定到车辆。
[0016] 活塞24包括具有圆形形状的上部52。上部52具有设置在第一腔室32中的面向顶部22的内表面54和与内表面54间隔开的外表面56。周边58在内表面54和外表面56之间延伸并且围绕中心轴线A环形地连接,以将内表面54与外表面56连接。上部52限定了具有圆柱形状的孔60,孔60设置在中心轴线A上并且在与第一腔室32的气体通信中在内表面54和外表面56之间延伸。周边58包括多个脊62,彼此间隔开,并且以与中心轴线A垂直的关系从上部52向外延伸,以接合波纹管26的第二端30。具有圆形形状的第二环64设置在波纹管26的第二端30处并且围绕活塞24的上部52环形地延伸,以将波纹管26固定到活塞24的上部52。换句话说,波纹管26的第二端30被第二环64夹在并固定在第二环64和活塞24的上部52之间。突片66邻近上部52的外表面56设置,并从上部52向外延伸并环形地延伸到终端68,终端68限定了邻近外围58设置的肩部,用于接收第二环64。
[0017] 活塞24还包括主体70,主体70具有连接到活塞24的上部52的钟形。主体70可以从突片66的末端68延伸并且围绕中心轴线A从突片66的末端68环形地延伸到近端72,近端72限定在主体70和上部52之间延伸的第二腔室74。
[0018] 分离器76设置在上部52的孔60中并且附接到活塞24,与第一腔室32和第二腔室74气体连通。分离器76包括横跨分离器76横向延伸的分隔构件78,以将第一室32与第二室74隔离,第一室32限定用于第一室32的第一容积V和用于第二室74的第二容积V.第一容积V在分隔构件78,顶部22,活塞24和波纹管26之间延伸。第二容积V在分隔构件78和活塞24的主体70之间延伸。响应于施加到空气悬架组件20的压力,分离器76通过改变第一体积V和第二体积V2来补偿第一室32和第二室74中的压力变化。
[0019] 分离器76包括在上部52的孔60中邻近内部槽54设置的盖部分80,并限定设置在中心轴线A上的孔82.分离器76还包括延伸部分如图84所示,具有管状形状,设置在第二腔室74中并从盖部分80向外环形地延伸到远端86.延伸部分84限定了与孔82(第一腔室32)气体连通的第三腔室88,帽部分80可包括套环90,套环90从帽部分80径向向外延伸,与中心轴线A成垂直关系,并环绕帽部分80环形地接合帽部分80。应当理解,帽部分80可以通过任何方式固定到上部52,例如,上部52的内表面54。螺母和螺栓或焊接。[0020] 如图1所示,分隔构件78是隔膜78,其具有设置在中心轴线A上的六边形横截面,并且可在延伸部分84的第三腔室88中滑动,将第一腔室32与第二腔室74隔离。隔膜78也是包括突出部92,突出部92从隔膜78径向向外延伸并且围绕隔膜78以与中心轴线A垂直的关系延伸,该中心轴线A邻接分离器76的延伸部分84.聚四氟乙烯带可以围绕突出部分环形地设置在突出部分之间。在图92中示出了分离器76的延伸部分84,以便于隔膜78在延伸部分84内的滑动。多个保持构件94,96包括第一保持构件94和第二保持构件96。第三腔室88,彼此间隔开,并将隔膜78夹在保持构件94,96之间,以允许隔膜78移动e在第一位置和第二位置之间。第一位置被定义为与帽部分80相邻,第二位置被限定为与延伸部分84的远端86相邻,以在较小行程下提供软刚度率并且在较大行程下提供较高刚度率。换句话说,隔膜78夹在第一保持构件94和第二保持构件96之间以及第三腔室88或第一位置和第二位置之间的延伸部分84中。应当理解,第一保持构件94可以是设置在第三腔室88中的弹簧,该弹簧在帽部分80和隔膜78之间延伸。还应当理解,第二保持构件96也可以是设置的弹簧。在第三腔室88中,在隔膜78和延伸部分84的远端86之间延伸。
[0021] 活塞24的主体70可包括基部98,基部98具有设置在中心轴线A上的圆形形状并且附接到主体70的近端72以闭合第二腔室74。第二衬套100沿着中心轴线A从与第一衬套50相对的基部98向外延伸,用于将空气悬架组件20固定到车辆。
[0022] 或者,在另一个实施方案或本发明中,如图1中最佳所示。如图2所示,分隔构件78是由弹性材料制成的隔膜78,并且在第一位置和第二位置之间是柔性的。隔膜78设置在中心轴线A上并固定在延伸部分84的第三腔室88中,将第一腔室32与第二腔室74隔离。如图三中所示,分离器76包括第一盖102和第二盖104.具有管状形状的第一盖102设置在隔膜78和盖部80之间。。具有管状形状的第二盖104在隔膜之间与第一盖102间隔开地设置。如图78所示,延伸部分84的远端86将隔膜78固定在第一盖102和第二盖104之间。换句话说,隔膜78夹在第一盖102和第二盖104之间。第一盖102包括具有圆形形状和弧形横截面的第一圆盘106,其中第一盖弯曲远离隔膜78.第一圆盘限定多个彼此间隔开的第一孔,与第一腔室气体连通。允许气体流过第一盘106.第二盖104包括具有圆形形状和弧形横截面的第二盘110,第二盖104弯曲远离隔膜78和第一盘106。第二盖104限定多个彼此间隔开的第二孔112,第二孔112与第二腔室74气体连通,以允许气体流过第二盘110。
[0023] 活塞24的主体70可包括具有T形横截面的底部114。底部114设置在中心轴线A上并且附接到主体70的近端72以关闭第二腔室74.底部114限定腔115,腔115与第二腔室74气体连通,从而扩展第二腔室底部114还可以包括第二衬套100,该第二衬套100沿着中心轴线A在与第一衬套50相反的方向上从底部114向外延伸。用于将空气悬架组件20固定到车辆上。
[0024] 或者,在本发明的另一个实施例中,如图1中最佳所示。如图4所示,分隔构件78包括设置在第三腔室88中的滑动引导件116,其与延伸部分84同心并且与延伸部分84间隔开。滑动引导件116包括套管118,套管118具有管状形状,设置在延伸部分84的第三腔室88中并且在第一套管端部120和第二套管端部122之间延伸。第一套筒端部120邻近帽部分80设置。第二套筒端122邻近延伸部分84的远端86设置。套管118限定在第一套管端部120和第二套管端部122之间延伸的导管124。
[0025] 杆126设置在中心轴线A和第三腔室88中。杆126在设置在第一腔室32中的第一杆端128和设置在第二腔室74中的第二杆端130之间延伸穿过滑动引导件116的导管124。具有U形横截面的弹性材料的第一分隔件132设置在第三腔室88中,第三腔室88在第一套筒端部120和帽部分80之间延伸。具有倒U形横截面的弹性材料的第二分隔件134设置在第三腔室88中,第三腔室88在第二端122和延伸部分84的远端之间延伸。第一杆端128包括从第一杆端128径向向外延伸并垂直于中心轴线的凸缘136。
[0026] 活塞24的主体70可包括具有T形横截面的底部114,其设置在中心轴线A上并且附接到主体70的近端72以关闭第二腔室74。部分114限定腔115,腔115与第二腔室74气体连通,将第二容积V2扩展到分隔构件78,主体70和底部114之间。底部114还可包括从第二腔体向外延伸的第二衬套100。底部114沿第一衬套50的相反方向沿中心轴线A,用于将空气悬架组件20固定到车辆上。具有U形横截面的杆引导件138设置在第二腔室74中并围绕中心轴线A在延伸部分84的底部114和远端86之间环形地延伸。杆引导件138限定了设置在中心轴线A上的中心孔14(),用于接收第二杆端13()和多个凹穴142,每个凹穴具有圆形形状,设置在中心孔140周围并与中心孔140间隔开,并允许气体之间的通信。例如,第三腔室88和腔室115螺母设置在腔115中并固定到第二杆端130.包括弹簧的第一弹性构件146的多个弹性构件146,148设置在第一腔室32中并围绕杆126在杆之间延伸。多个弹性构件146,148包括弹簧的第二弹性构件148,弹簧构件148设置在第二腔室74中并围绕
资料编号:[4269]
