

英语原文共 16 页,剩余内容已隐藏,支付完成后下载完整资料
由混合动力电池驱动的电动汽车驱动系统和控制方法
摘要:在具有由安装的直流电源供电的汽车驱动电机的电动汽车驱动系统中,包括信号发生装置在内的控制系统可以产生控制电动机速度的信号。直流电源由具有与电动机连接的二次电池的动力电池和通过能量电池控制开关并联连接到所述动力电池的燃料电池形成的能量电池组成。电动汽车驱动系统由充电控制装置组成。如果在所述钥匙开关关闭时动力电池的充电量低于规定值,则使用能量电池对动力电池充电。如果充电量等于或大于指定的值,就暂停充电。电池电流和电压控制基于动力电池,能量电池或电动机中的任何一个的电流或电压来控制连接在能量电池和动力电池之间的升压电路,并且将直流电源的电压保持在指定范围。
背景技术
电动车驱动器技术领域本发明涉及一种电动车驱动器系统及其驱动控制方法,特别是涉及适用于由混合动力电池驱动的电动车驱动系统和控制方法。
电动汽车通常包括用于转换的逆变器一个安装在交流电源中的直流电源可变电压和频率的当前电源;一个汽车驾驶三相交流电动机;一种趋势传感器和速度传感器来感测电流和速度三相交流电动机;转矩指令计算装置,用于确定三相交替当前电机的转矩命令根据程度而定加速器致动;三相交流电mand产生装置以产生三相交替基于所述转矩指令和所述转矩指令进行电流指令电流传感器输出;和信号发生装置基于所述生成信号来控制逆变器三相交流电流指令和电流用于所述三相交流电动机。
这样的电动汽车正在广泛的领域中发挥作用提供与环境和谐的清洁汽车不排放含有危险物质的废气导致空气污染的立场。 1992年12月号化学工业出版社出版的“化学工业(化学工业)”实业有限公司(pp.69-74)引入了一个新的趋势电池开发题为“电动汽车电池的发展趋势”发展”。
通常,二次电池,特别是铅电池,被广泛用作电动汽车电池。然而二次电池不能确保较长的行驶距离每次充电,而这个缺陷是主要因素之一阻碍了电动汽车的更广泛使用。
近年来,关注正常温度型燃料电池,包括固体高分子大号燃料电池,用作电动汽车电池的替代品二次电池。燃料电池通过电池获得能量氢和氧在燃料中的电化学反应。它确保了燃料供应时的长期运行。
此外,电池的废气是干净的。对于常温型燃料电池的输出已投入商业用途,但输出电压为电池电压是1伏,或者输出功率大约是1瓦/平方厘米。因此,输出电压太小而无法使用电动车电池,这是需要提供广泛的输出功率的范围,不仅适用于低负载运行,而且也适用于高负载运行。
一种混合电池技术在日本专利申请公开号SHO 47-32321和日本专利申请公开号HEI 6-124720中被公布。如果大量的电流流入电机,燃料电池和二次电池都被使用;如果没有太多的电流使用,二次电池由燃料电池的剩余电力充电,从而确保电池将承受下一个大负荷被吸收。
基于这种混合电池系统的电源提供一个电动汽车电池,弥补了这一点二次电池的缺点和正常情况温度型燃料电池并且满足广泛的输出汽车的操作要求。
而二次电池的额定电压通常为300伏,其燃料电池的电压是24伏到96伏,并且通常是48伏。 在具有传统混合电池的电动汽车中,额定电压的巨大差异并没有被给予太多关注。 因此,从行驶特性和行驶距离的观点来看,令人满意的成就还没有。
发明内容
本发明的目的是提供一种驱动系统和用于能有很长行驶里程的电动汽车的驱动控制方法,满足广泛输出要求和从低到高的负载,使用由二次电池组合而成的电池以及作为电动汽车电池的燃料电池组成的混合动力电池。考虑到燃料电池和二次电池两者之间额定电压的差异,并提供一个通过有效使用两种电池的特性来优化配置。
根据本发明的特征,具有汽车驱动电机的电动汽车驱动系统由安装的直流电源供电,包括信号发生装置的控制系统控制所述电机速度的直接信号,电流供电由以下部分组成:包括连接到所述电机的所述次级电池的电源电池,包括通过电压并联到所述动力电池上增加电路的燃料电池的能量电池;电动车驱动系统还包括:一个电池电流和电压控制装置,其基于电流来控制升压电路或所述动力电池中的任何一个的电压,能量电池和电机, 并保持所述电压直流电源在规定范围内;对所述动力电池进行充电的充电控制单元,如果动力电池的充电量低于规定值,则使用能量电池对动力电池充电。如果充电量等于或大于指定的值,就暂停充电。
根据本发明的另一个特征,发明中,能量电池设有驱动泵提供燃料和放电反应产物。 这个驱动器泵的特点是由动力驱动电池在启动时。另外,电动车也有辅助设备包括空调电机,动力转向电机和真空电机,且辅助设备设备是由能源电池驱动。
根据本发明的另一个特征,当电动汽车处于再生模式时恢复制动能量,操作所述电压增加电路关闭以暂停所述充电由所述能量电池供电,这是意图提高将制动能量回收到动力电池的效率。
根据本发明,任何两个能量电池或与能量电池和所述电动机并联的动力电池的电流或电压由电池电流和电压检测和控制。控制装置使用作直流电流的电压电源保持在规定的范围内。
此外,如果动力电池的充电量低于规定值,则使用能量电池对动力电池充电。如果充电量等于或大于指定的值,就暂停充电。
根据本发明。 汽车电力操作主要由能源电池供电。当电动车负载很小时,这是一个助推器。 当更大电动车的负载增加需要电力。 主要来自动力电池的功率被提供给三相交流电动机。
低电压能量电池的功率,可产生一个始终保持恒定的输出,被提升并提供给高压动力电池给它充电。 这确保了长时间的旅行,同时满足要求适用于从低负荷到高负荷的各种负荷。
特别是动力电池的功率被使用为大负载波动提供动力;而能源电池的功率,它提供了一个不断输出很长一段时间,被用于辅助设备,提供很小的负载波动。这延长了行驶距离,并提供了动力供应具有紧凑的设计。 此外,它有可能满足从低到高各种负载的要求,并改善行驶特性。
附图的简要说明
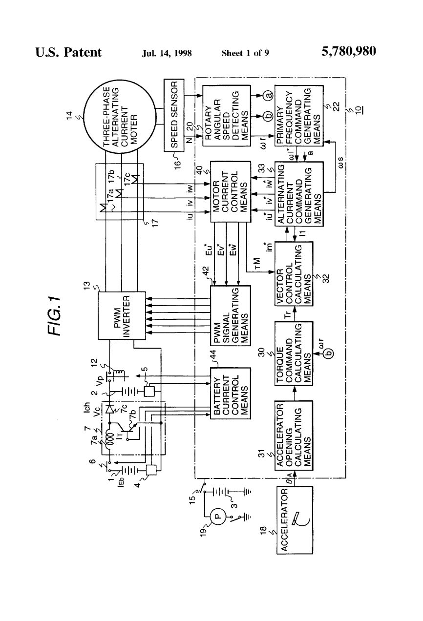
图1是表示本发明的电动汽车驱动控制器的框图。
图2是示出图1的能量电池的示例的图。
图3是表示构成主电源的电池特征的图。
图4是表示图1的电池功率和电压控制装置操作的流程图。
图5是示出增加电路操作性的电压的波形图。
图6是示出能量电池与动力电池的充电特性的图。
图7是示出如何检测动力电池充电的图。
图8是示出图1布置中能源电池控制器的另一示例的示意图。
图9是示出图8的控制器操作的时间图。
图10是示出另一个图1的实施例中能源电池控制器的示意图。
图11是示出图10的控制器的操作时间图。
优选实施例的具体实施方式
本发明的一个实施例将参照图1进行描述,这是一个代表电动车驱动系统的框图。
在图1中,装在电器上汽车的主电源是包含能量的直流电源电池1与动力电池2并联连接。燃料任何时候产生恒定输出的电池都可以用作电池能源电池1,而铅电池则是次要的电池,被用作动力电池2。数字3表示一个辅助电池来备份控制器10。数字4指示能量电池电流和电压检测器来检测能量电池1。数字5的电流和电压表示动力电池电流和电压来检测器检测动力电池2的电流和电压。数字6表示能量电池继电器。数字7表示升压电路通过对电池2充电提高能量电池1的电压。数字12表示示一个主接触器来打开和关闭主电源供电电路,而13表示用电源的逆变器开关元件来将直流电电池1和2转变成交流电。数字14代表要驱动电动车的三相交流电。15表示按键开关,16表示速度传感器来检测电动机14的速度N.17a,17b和17c表示电流检测器17的电流传感器用于检测流到交流电的初级绕组电机14的三相一次电流i(iu,iv和iw)。
标号18表示加速器在被按下时根据数量生成一个输出qA的加速器开关。数字19表示将燃油泵供应给能量电池1并排出反应产物的泵。
升压电路7包括开关晶体管7b将能量电池1,电抗器7a短路和防逆流二极管7c。动力电池额定电压为300伏特而能量电池的是48伏。 能量电池1的电压VE通过电压增加电路7被升高达到等于或稍高于动力电池2的电压VP,从而用能量电池1对动力电池2充电,并为三相交流电供电来利用电机14驱动电动车。
控制器10包括旋转角速度检测生成装置20,生成主频率命令装置22,转矩指令计算装置30,加速度开度计算装置31,矢量控制计算装置32,交流电指令发生装置33,电流和电压控制装置40,PWM信号发电装置42以及电池电流和电压控制装置44。
控制器10接收马达速度N的信号,电动机电流i和加速器开度6A以及转矩指令运算单元30计算转矩Tr。 主频率命令的产生装置22计算主要角频率W1*,并且矢量控制运算单元32计算矢量控制。此外,主角频率W1*和改变当前命令使用当前和电压控制装置40和交流点命令I1生成单元33进行处理。如电流控制和交流电流指令计算,从而通过PWM信号产生PWM信号发电装置42.基于逆变器13驱动这个PWM信号形成三相交流电可变电压和频率的功率来自能量电池1和动力电池2的电流,因此控制三相交流电的转矩电机14。
旋转角速度检测装置20通过来自转速传感器16的输出N的A相和B相的脉冲来检测交流电动机14的角频率转矩指令计算装置30产生转矩指令tau;r给三相交流电动机14使用作为输入,与之动量对应的值theta;a通过加速器开口计算装置31获得,电动机角频率Wr由旋转角速度检测装置20获得。
矢量控制运算单元32生成转矩电流It*,使用励磁电机指令im和电机转矩tau;M作为输入。交流电指令产生装置33产生电流命令i*(iu*.iv*和iw*)用于电流和电压控制装置40在交流电指令I1和主电路上角频率W1*。 基于代表的输入电流指令i*和电动机电流i,电流和电流电压控制装置40产生参考信号Eu*,Ev*和Ew*以获得电机转矩tau;M。
PWM信号发生装置42比较三角波与参考信号Eu*, Ev*和Ew*获得PWM信号,用作六个功率元件d 门信号构成PWM逆变器的一个臂13。
基于电池电流和电压检测器4和5.电池电流和电压控制装置44提供控制以确保电池1和动力电池2电流和电压的能量保持在规定的范围内。如果电流和电压超过规定容忍度或低于容差。 它也会打开继电器6或主接触器12,或者启动电压增加电路7,提供控制以确保电流和电压保持在指定的范围内。 细节将在后面描述。
图2表示能量电池1的实施例。能量电池1包括燃料重整器部分100和燃料电池部分110.燃料重整器部分100通过重整反应产生氢气,甲醇CH3OH和/或甲烷CH4和水H2O。该燃料电池部分110具有燃料电极112。氧电极116和输出部分118以及电池每个单元大约1 的输出被提供给输出部分118通过催化反应,用作材料由泵19供应的氢气和氧气。而且,由反应产生的水(H 2 O)被排出泵19.只要材料被供应,即输出部分118在任何时候都会产生一个恒定的电池输出能量电池1.泵19在规定的条件下被驱动即使当钥匙开关15关闭时也是如此。该这些细节将在后面描述。
图3说明了能量电池和动力电池2的特点。根据本发明,功率电池2的电压VP可以保持在较高的水平上,达到高电流范围,而不是电压电池1的电压。在空载条件下。然而,由于能量电池1的电压升高而产生的voltageVC要比动力电池 2的电压VP要高。因此,当汽车在较小的负荷下运行时,运行电机所需的电力主要是提供的。
增加电路7的电压提供控制,使能量电池1的放电电流至少为Iemax.
当动力电池2放电时,动力电池2由能量电池1充电。为这个目的,电压增加电路7被启动以打开主接触器12,并提高能量电池的电压,从而为动力电池2供电。与,电压增加电路7提供了控制保证当前的能量电池1 thebattery电流和电压探测器探测到4等于或小于。即当能源电池的充电率1已经达到指定值(正常情况下从百分之九十到百分之百)。电压增加电路7的操作被关闭以停止充电。充电电池2后,继电器6关闭。在这种情况下,从能量电池1流出的电流限制在等于或小于i的水平。当电动汽车不需要电源时,需要充电。
图4说明了电池电流和电压控制的操作方法。做一个检查,看看键开关15是否关闭,如果电压E。在功率电池中,电流和电压检测器5所检测到的电量等于或大于特定电压Epc(第402步)。当值等于或大于指定电压Epc时,进一步控制是不必要的。
当动力电池2的电压Ep低于特殊电压Epc时,就会检查电动汽车是否处于再生模式以回收制动能量(第403步)。如果是在可再生的模式下,电压增加电路7的操作就会被关闭到充电电池2,这是为了提高制动能量回收的效率。如果电动汽车不处于可再生模式,则电压增加电路7被打开以实现充电电池2(步骤404 to406)。当开关15打开时,继电器6和主接触器12被驱动给电机14从能量电池1和电源2(步骤408到410)。在这种情况下,能量电池1的电流Iemax被限制在或更少。这种控制是由电压增加电路7驱动的,当电池电流和电压检测器4检测到的电池电流减少到或更少(步骤412到416)。
下面参考图5增加电路7描述电压的操作。当升压电路7被驱动,开关变换器晶体管7b重复开/关在指定的周期T操作t1 T2),如图(a)所示。当开关晶体管7b,目前我的能量电池如图(图)的行(b)所示能源电池短路通过反应堆7a和目前我流过晶体管7b发生变化在Imax和Imin之间,如图中的行(c)所示。当开关晶体管7b是关闭的,电压电压器7a的叠加,并提供给通过逆流保护二极管7c功率的电池。此时充电电流和充电电压如图中的行(d)和(e)所示改变。充电电压较高时进行充电。比动力电池的电
全文共10985字,剩余内容已隐藏,支付完成后下载完整资料
资料编号:[15481],资料为PDF文档或Word文档,PDF文档可免费转换为Word
