

英语原文共 9 页,剩余内容已隐藏,支付完成后下载完整资料
隧道监测系统
摘要:
公开了一种用于监测穿过具有至少一个车辆行车道的隧道的车辆的隧道监测系统,其包括沿隧道的纵向方向串联布置的多个超声波传感器。传感器具有覆盖行车道的一部分的检测区域用于检测检测区域中的车辆的存在,并且超声波传感器在检测到检测区域中的车辆时生成车辆传感器信号,以及识别传感器信号从哪个传感器传输的传感器识别信号。检测区域相对于车道被投影和布置,以提供通过隧道行驶的车辆的一般连续检测。评估单元接收车辆传感器信号和传感器识别信号以监测隧道中的交通。评估单元包括用于确定穿过隧道的车辆的速度的车辆速度测量模块,用于确定车辆在隧道中的给定情况下的位置的车辆跟踪模块中的一个或多个,包括车辆是否已经停止隧道,用于确定穿过隧道的车辆类型的车辆识别模块,用于确定车辆之间的相对距离的距离测量模块以及用于对穿过隧道行驶的车辆进行计数的辅助器。传感器包括通过串行总线系统与评估单元通信的模数转换器和连接到评估单元的控制单元,用于根据评估结果自动致动与隧道相关联的交通指导和/或警告控制装置。
车辆隧道隧道监控系统
背景技术:
[0001]本发明涉及一种用于监视隧道中的车辆交通的隧道监视系统。
[0002]通常已知用于监测隧道中的车辆的各种设计的隧道监测系统。 例如,隧道监控系统是已知的,其中火情报告装置沿隧道的纵向安装。 该系统设计用于探测和定位隧道内可能发生的火灾,特别是燃烧的车辆。 该系统可以包括在检测到火灾时启动自动报警装置,交通引导装置或锁定装置的控制装置。 这种监测系统仅适用于识别由于火灾而发生的危险情况。
[0003]另一个先前的隧道监测系统由沿隧道间隔安装的多个监测摄像机组成。已分配的隧道段可以被视觉监控,相机检测到的事件会显示在隧道监控指挥台的屏幕上,并由监控人员进行评估。这种监视摄像机的安装也是一种已知的方法,以便能够进行旋转,从而可以在隧道监视指挥站对遥控进行遥控。这种带监控摄像头的隧道监控系统在采集和维护方面花费很大。当发生严重火灾时,摄像机镜头的功能受到烟雾的影响而受到污染。此外,系统自动识别和即将发生的危险情况评估是不可能的,或者只能在有限的范围内进行。由于涵盖了可能数量较多的车辆的相对较长的隧道段,并且难以进行自主图像评估。因此,对这种隧道监测系统提供的图像信息的评估基本上是隧道监测指挥站的监测责任,即识别危险情况,评估交通密度和行驶速度等等。保护主要取决于监视人员的个人警觉性,并且不能确保快速识别危险情况以及所需的快速响应。
[0004]先前描述的两个已知的隧道监控系统,火灾报告装置和监控摄像机可以用于定位车辆的传感器以将车辆定位在正常运行和/或危险情况下,但是必须接受 系统的上述缺点和弱点。
[0005]另一种交通监控系统公开于美国专利No.5,811,329 其中通过超声波传感器感测的数据受到中央站中关于车辆速度和车辆密度的统计评估。 根据评估结果,评估当前的交通状况。 交通状况可以从中央火车站以Mes Sages的形式传输。 在这种情况下,不考虑特定车辆的运行情况,以便该交通监控系统不评估有关特定交通情况的当前和准确数据,而只是改善交通安全。
[0006]在另一种隧道监控系统(JP-A 282581)中,声音传感器沿着隧道的纵向路线分布并安装,由此检测并定位车辆在隧道中的不动性。 该系统无法控制车辆无障碍通过隧道。
[0007]因此,本发明的目的是提供一种用于改善车辆交通隧道中交通安全的系统。
发明内容:
[0008]本发明的目的通过将传感器定位在超声波传感器的形式来实现,该传感器具有投影在至少一个行驶车道上的发射和接收区域。当超声波传感器的发射和接收区域内存在车辆时,传感器将相应的传感器信号和传感器识别信号一起发送到评估单元。评估单元包括运行时间测量模块,用于借助在连续超声波传感器处生成的传感器信号来计算两个或更多个区域之间的运行时间测量,所述超声波传感器在其发射和接收区域存在车辆。借助超声波传感器的后续传感器信号,可以确定行驶车辆在其发射和接收区域内的行进方向下游的行进方向,至少这两个超声波传感器之间的行进时间可以确定。为了测量运行时间,可以使用超声波传感器紧跟着另一个距离,或超声波传感器在更远的距离进行评估。由于用于测量运行时间的超声波传感器之间的距离是固定且已知的,因此可以在基本上由乘法器组成的速度测量模块中立即检测给定车辆的速度信号。
[0009]对于所有进入隧道的车辆,最好以上述方式进行速度测量,由此,每辆车通过第一台超声波传感器时就会触发测量运行时间,并在通过第二台相关超声波传感器时结束。 速度信号可以为每辆车非常快速地获得,并且可以被存储用于进一步评估,由此可以为次级车辆再次启动测量间隔并且重新测量运行时间。 这种测量间隔可以在隧道的长度上一个接一个地提供。 由此,可以容易且快速地获得数据,例如平均旅行速度或车辆交通密度,可以确定。
[00010]利用这种布置,通过确定评估单元中的两个关联的超声波传感器之间的行进时间的阈值,能够非常快速和自动地发现以特别缓慢的速度行驶的车辆或停止的车辆。 通过对与当前超声波传感器相关的传感器识别(ID)代码信号的额外评估,可以在隧道中自动检测停车车辆或以特定速度行驶的车辆的位置。 在预定时间跨度期间不改变的检测信号还在评估单元中提供关于停止车辆的指示。
[00011]另外,超声波传感器的在车辆检测区域彼此相邻的在纵向方向上彼此相继的发射和接收区域大致等于车辆纵向方向上的正常车辆长度。 由此可以在整个隧道长度上连续检测和监测无断裂的车道。 另外,在超声波传感器的发射和接收区域内只能检测到一个车辆,因此实际上不可能发生重复检测或车辆跳过。 这使得评估结果特别可靠。
[00012]这种监测系统可以由相对便宜且功能可靠的部件制造。超声波传感器尤其是相对便宜的,功能可靠的和低维护的传输单元,其已经在困难的操作条件下证明了它们自己,例如在海事应用中也是如此。 这种超声波传感器有利地不受灰尘和其他隧道污染物的影响,并且在发生火灾或存在烟雾的情况下为车辆的位置提供可用的传感器信号。 此外,传感器信号的评估以及相应的传感器识别信号相对容易。 安装成本和运营成本也相对较低。
[00013]评估单元还包括跟踪模块,通过该跟踪模块基于每个单独的车辆确定确切的车辆通道。 为此,第一台超声波传感器在车辆进入隧道时对其进行检测,并通过后续的超声波传感器检测和监测车辆的通道,并通过传输和传输电路一直监测到隧道出口。 当评估单元检测到从一个超声波传感器区域到下一个超声波传感器区域的传输中断时,也可以通过这样的跟踪单元检测停止的车辆。 确切的位置可以与相关的传感器ID信号一起确定。
[00014]评估单元此外可以包括距离测量模块,由此评估与车辆相关并且彼此相随的两个传感器信号,从而可以容易地确定相对距离。
[00015]在特别优选的实施例中,还对超声波传感器的传感器信号的信号强度进行评估,以识别隧道中的车辆类型。由于不同的车辆类型在不同的强度下反映超声波,因此可以在车辆类型识别中识别不同的车辆模块。 通过这种方式,可以有利地确定停车车辆是摩托车,客车还是卡车,代表不同的危险潜力并需要不同的响应。 另外,可以使用车辆类型识别,例如用于统计目的。 在一个实施例中,可以将计数器借助其计数车辆的数量,该计数器可以简单地并入评估单元中。
[00016]上述对不同提到的模块的评估可以以已知的方式紧凑地集成在电子评估系统中,该电子评估系统可以适应实际的安装条件并且可以提供必要的编程可能性。
[00017]超声波传感器可安装在隧道天花板上,从而将一行功能互连的超声波传感器分配到一个行进方向的车道上。 优选地,每个传感器行被分配到一个单通道以及分解舱。 为了便于识别被停车的车辆,还可以监视两个不同行驶方向的车道,并在其上安装一排超声波传感器。 然而,在一个行驶方向上将一排超声波传感器分配给每个单独的车道会导致更有效的监控结果。 由此特别可以识别行驶方向,以便可以立即检测到可能的鬼怪骑手。 对于最佳布局,传感器之间的距离可以高达约10米,由此每秒可以发射和接收约50个超声波脉冲。
[00018]传感器信号,尤其是传感器信号强度的评估时,必须以通常的方式进行电子评估数字化。超声波传感器上应安装合适的模拟至数字(A / D)转换器,并将数字化信号通过串行总线系统传输至评估单元。为了确定给定传感器信号来自哪个超声波传感器,必须以已知的方式将传感器识别(ID)信号连同测量值信号一起传送给评估单元。对于简单的安装,可以使用双线系统,超声波传感器和A / D转换器也可以采用双线系统供电。特别有利的是,低电压区内只需要一个电流供电,这样就不会对隧道运行造成额外的安全风险。替代地或另外地,也可以通过无线电提供从超声波传感器到评估单元的信号传输。根据条件,安装成本可以进一步降低,即使电缆可能在火灾中损坏,也可以确保信号传输清晰。
[00019]由于根据本发明的隧道监测系统使得可用的评估结果基本上自动化,而不需要监测人员进行主观评估,因此也可以使对某些评估结果的反应自动化。 为此目的,控制单元可以连接到评估单元,通过该控制单元可以根据某些评估结果自动触发在隧道之前或隧道内安装的交通控制和/或警报调节装置。 由于不需要处理可能的人为或个别造成的时间延迟,所以安全性得到显着改善。 这种调节装置可以是交通信号灯,闪烁灯,警报器,带有控制文本的警告板或其他已知的指导和警告系统以及隧道安全装置。 隧道中的通知或无线电台也可以自动触发或初始化。
[00020]隧道监测系统可以有利地用于公路和/或铁路隧道。 简单的结构可以在现有隧道中尽可能简单且低成本地进行改装,例如完成现有的监控设备或与现有监控设备结合使用。
附图说明:
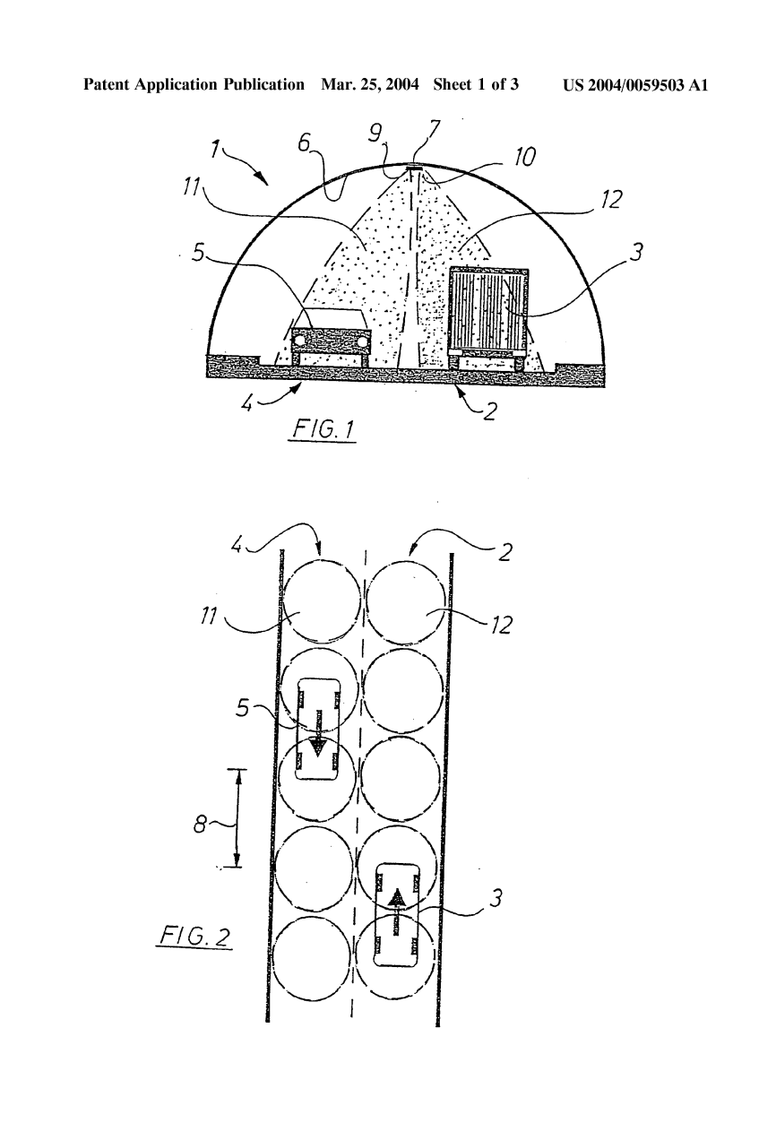
[0021]在下文中将结合其他的特征描述用于实施本发明的结构。
[0022]通过阅读以下说明书并参考形成其一部分的附图,将更容易理解本发明,其中示出了本发明的一个实例.
[0023]图1是具有根据本发明的隧道监视系统的隧道的横截面;
[0024]图2是图1的俯视平面图;
[0025]图3是说明根据本发明的隧道监视系统的操作的示意图;
[0026]图4是根据本发明的隧道监视系统的框图。
具体实施方式:
[0027]现在参照附图,现在将更详细地描述本发明。
[0028]图1示出了通过用于机动车辆的双车道隧道1的横截面。 在巷道2上示意性地示出了卡车3,在隧道的右侧,在相反的方向上示出了在车道4上的客车5。 在隧道天花板6的中心区域中安装6个超声波传感器单元7,并且沿隧道1的纵向方向将其放置在传感器之间相同的距离8处。每个超声波传感器单元7包括两个超声波传感器9和10,它们与 彼此以其各自的车辆检测区域以图示的形式呈现为锥形发射和接收区11,12,其沿相反的横向方向指向车道2和车道4。 如在图1中可以最好地看到的那样。 在图1中,车辆检测区域11,12覆盖过往的机动车辆3和5。
[0029]图2示出了图1的示意性俯视平面图。如图1所示,车道2和车道3与车辆3和5一起沿相反的方向行进。如图所示,大致圆锥形的发射和接收区11,12在车道2和4上投影大致圆形的区域。超声波传感器9,10的放置使得发射和接收区域11,12相对于所画出的圆圈在纵向和横向方向上彼此几乎相邻。从而在没有过往车辆中断的情况下进行大致连续的检测是可能在通道2和4上。如有必要,超声波传感器的发射区和接收区可能略微重叠或彼此间隔很小的距离。在这个位置选择距离是非常重要的,因为它不会太大以致于车辆可以在这些区域之间找到空间而没有被检测到,或者如此接近以至于几个存在于超出区域的车辆可能被检测为只有一个区域车辆由于区域重叠。
[0030]为了举例的目的, 图3示出了隧道监测系统的功能图,其中示出了车道2和4的俯视图。十个超声波传感器单元7至7沿纵向安装,并且隧道可能继续进行。 在超声波传感器单元75的区域内,在由超声波传感器7s,7s和7s监测的车道5旁边提供故障隔间13s。卡车3在车道2上示出并且机动车辆14已经停在故障隔间中。
[0031]评估单元16安装在隧道监测控制点15处,用于处理和评估传感器数据。每个超声波传感器单元7通过串行总线17与评估单元及其各自的超声波传感器9,10连接。每个传感器单元具有唯一的识别(ID)代码,该代码通过所描述的其他传感器数据传输到评估单元下面。评估单元连接到用于处理来自评估单元的数据的过程控制系统18,并且包括可视化和记录设备,诸如显示屏和数据记录设备。为了进一步利用评估数据和结果,提供了两个控制信号或输出,并以示意图的形式示出:一个控制信号涉及在隧道入口处的入口交通信号灯19,可以在停止的情况下切换到“红色”车道2上的车辆或检测到交通超载时。另一个控制输出可以以隧道中的信息面板20的形式提供,如图中所示,用于以闪烁的照明字母显示交通引导指令。
[0032]图4显示了隧道监测系统和逻辑过程的示意性框图示例。超声波传感器单元7的每个不同的超声波传感器9,10被分配一个通过串行总线17连接到下游的模拟 - 数字变压器21.串行总线17与评估单元16通信。评估单元16可以设置有多个测量和评估设备,模块和程序例程,可能根据所需功能和控制级别相互集成。评估单元16包括运行时间测量模块16a,其计算在两个或更多个区域之间的车辆运行时间。传感器信号对应于在第一超声波传感器的发射和接收区内存在车辆的时间而生成。当车辆稍后出现在该传感器的发射和接收区内时,会产生来自行进方向下游的超声波传感器的后续传感器信号。然后确定至少两个超声波传感器之间的行程时间。为了测量运行时间,超声波传感器可以立即相互跟随,或者超声波传感器可以在更远的距离进行测量。由于超声波传感器之间的距离是已知的,速度测量模块16b可立即在下游检测给定车辆的速度信号。对于每辆进入隧道的车辆都可以测量速度
全文共9294字,剩余内容已隐藏,支付完成后下载完整资料
资料编号:[14927],资料为PDF文档或Word文档,PDF文档可免费转换为Word
