

英语原文共 10 页,剩余内容已隐藏,支付完成后下载完整资料
驱动轴总成与润滑油冷却系统
发明者:Garrett W. Gage, Goodrich, Mich
美国相关的应用程序数据
临时申请第60/003,930号,1995年9月18日
Int. Cl. .................................................... F16H 57/04
U.S. CI............... .......74/607; 184/11.1; 184/13.1
Field of Search ............... .........................74/607,
606A,74/606R,467,184/11.1,13.1
参考文献引用
美国专利文件
1,247.276 11/1917 Hurlburt.
1,741,50112/1929 Crawford ........................... 184/11.1 X
1,775,623 9/1930 Morgan ......... ... 184/13.1
1,950,034 3/1934 Mulford et al. .. ... 74/99
1,966,434 7/1934 Barker ....................................... 184/11
2,015,108 9/1935 Harper ...... ... 184/11.1
2,802,548 8/1957 Mart et al. .................................. 184/6
3,153,464 10/1964 Nelson et al. ........................ 74/467 X
3,847,249 11/1974 Oehring ...................................... 184/6
4,244,242 1/1981 Uno et al. ..... ... 74/710
4,261,219 4/1981 Suzuki et al. ............................. 74/467
4.352,301 10/1982 Fleury ....................................... 74/467
4,612,818 9/1986 Hori et al. ................................ 74/467
4,677,871 7/1987 Taniyama et al. .................... 74/607 X
4.915,192 4/1990 Hayashida et al. ... ... 180/309
5,197,929 3/1993 Scheiber et al. ........................ 475/160s
5,316,106 5/1994 Baedke et al. ......................... 184/6.12
5,540,300 7/1996 Downs et al. ......................... 184/11.2
外国专利文件
0067639 12/1982 European Pat. Off..
73 0612938 8/1994 European Pat. Off..
40 23 354A 1/1992 Germany.
901 1907 10/1990 WIPO.
摘要
驱动轴组件包含齿轮箱,从齿轮箱向外延伸的两个轴管,齿轮箱中的润滑剂储存器以及可旋转地安装在齿轮箱中的齿轮组件,该齿轮组件具有可旋转的环形齿轮,该齿轮部分布置在润滑油库。驱动轴组件还具有润滑剂冷却系统,该润滑剂冷却系统包括连接到齿轮壳体的冷却器盖以提供润滑剂通道,该润滑剂通道经由与可旋转环形齿轮并置的入口与润滑剂储存器连通。润滑油通道增加了连接到各自的轴管的出口。轴管通过位于润滑剂通道的出口下方的受限制的出口通道连接到储存器。润滑剂通道的出口和轴管的尺寸设计成当可旋转环形齿轮以预定速度或高于预定速度被驱动时,轴管中会存在大量润滑剂。润滑剂沿着轴管延伸并起到冷却作用。旋转的轴系浸没在润滑剂中,并且搅动润滑油,以提高传热。
驱动轴总成与润滑油冷却系统
发明的背景
本发明涉及的是驱动轴,更确切的说是包括润滑油冷却系统的驱动轴。
美国专利于1917年11月20日授予威廉·b·赫尔伯特(William B. Hurlburt)的1,247.276号专利,公开了一个自润滑后桥,其中一个齿轮将油从一个油箱扔进一个壳里。壳体与驱动齿轮的蜗轮紧密配合。这个蜗轮将油输送到一个管道中,通过一个相互连接的管道网络将油输送到内部和外部轴承。然后油又返回到水池。专利不讨论油温,也不提及怎么冷却。
美国专利于1934年3月6日授予威廉·a·马尔福特(William a . Mulford)的专利第 1,950,034号揭示了一辆后轴上装有用于冷却的油的后轴。这个后轴有一个环形齿轮,它可以使外壳的底部沾上油,然后把油送进蜗壳内部。蜗壳包括外部散热片,用于冷却被送进蜗壳内的油。然后,蜗杆齿轮通过油通道将油输送到蜗杆轴承。然后,油通过蜗杆轴承循环,并返回到外壳底部。
美国专利于1982年10月5日授予爱德华·弗勒里的4352,301号专利,公开了一个车轴总成,它也有一个油冷却系统。这种油冷却系统包括一个小型润滑泵,它从一个齿轮箱中提取油,并通过一个外部过滤器泵出油来冷却和清洗。过滤后的油通过管道输送,返回的油沿轴管向外流动,使油喷在半轴的末端,并通过孔输送到轴端轴承。然后,这些油通过减速器总成返回到轴管,并通过重力流回齿轮箱。值得一提的, 是油是通过外部过滤器循环冷却的,也表明如果外部过滤器提供的冷却不足,可以增加外部油冷却器。
德国专利DE 4023354由奔驰申请并于1992年1月30日出版,公开了一种装有润滑油循环系统的驱动轴总成。在这个系统中,一个环形齿轮将油从一个储集层溅到一个轴套的差速器壳体的一个升高的内腔内。油在升高的腔室中积聚,然后由重力作用于轴承座和轮毂齿轮,通过内部管道在轴壳的外端流动。然后,油通过围绕轴轴的轴套的中心通道流回储层。油的连续交换降低了轴套末端的轮毂齿轮的工作温度。
上述专利文件中没有一项是采用简单、高效、经济的润滑冷却系统。
关于发明的总结
本发明的目的是提供一个具有润滑冷却系统的驱动轴,它简单、高效、经济。本发明是通过使用差动环齿轮的转动来实现的,它可以在不需要泵的情况下,将润滑油注入轴心管。
本发明的一个特征在于润滑剂通道与驱动轴组件的内部润滑剂储存器恒定流体连通。为了提供用于旋转环形齿轮将润滑剂递送到用于冷却的轴管。
本发明的另一特征在于润滑剂通道与驱动轴的储存器恒定地流体连通并且布置成使得该旋转的环形齿轮使润滑剂流入润滑剂通道以有效且高效地输送润滑剂 到轴管进行冷却。
本发明的另一个特征是润滑剂流动通道容易且方便地由盖或盖组件形成。
本发明的另一个特征在于润滑剂流动通道由易于制造和安装的盖或盖组件提供,而不需要对现有驱动轴设计的壳体进行任何实质性改变。。
本发明的另一个特点是驱动轴总成包括润滑油流通道,允许过载,以容纳更大范围的车辆速度。
本发明的另一个特点是驱动轴总成不需要任何内部或外部的润滑油输送管道,以便将润滑油从除轴管本身以外的齿轮箱中带走。
附图简介
上述的特点及优点,将从下列与附图所作的描述中更明显地体现出来,其中:
图1为根据本发明所配备的润滑油冷却系统的驱动轴总成的部分剖面图;
图2是图1中沿箭头方向观察到的一段;
图3为图1所示驱动轴总成的后视图;
图4是沿着图1的4-4线,沿箭头方向观察的部分;
图5是沿着图1的5-5,沿箭头方向看的部分。
图6为图1所示的6-6线,沿箭头方向看的部分。
图7为图1所示驱动轴总成的备用两件盖的后视图;
图8是沿着图7的8-8行,沿箭头方向看的部分。
图9是沿着图7的9-9行,沿箭头方向观察的部分。
图10是沿着图7的10-10行,沿箭头方向看的部分。
发明的描述
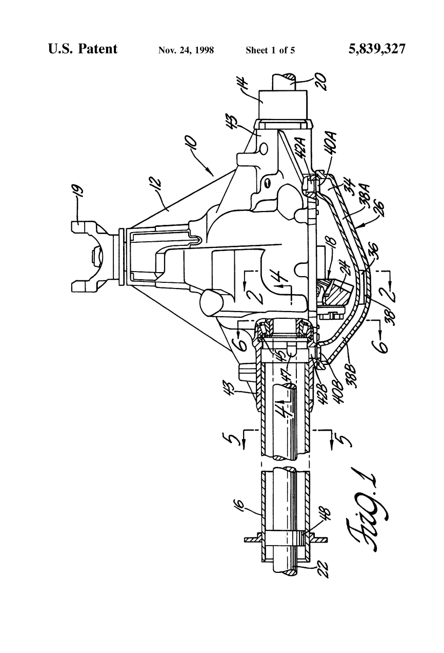
参照图,本发明的驱动轴组件10显示有一个齿轮箱12和两个轴管14和16从齿轮箱的相反面向外延伸。
差速器总成18是可旋转的安装在齿轮壳12并且驱动连接到轴轭19(图中未显示)将动力通过驱动轴20和22转移到车辆车轮。
差速器总成18是一种传统的锥齿轮差速器,通常用于汽车驱动轴,特别是后轴。锥齿轮差速器以一种众所周知的方式运作,因此它的操作不需要对那些有技术的人详细描述。
差速器总成18包括一个环齿轮24,它是由一个小齿轮(未显示)驱动的,它连接在一个短轴25的末端,它连接到螺旋桨轴(没有显示)。驱动轴组件10安装在车辆上,当车辆处于运动状态时,环形齿轮24的旋转向另一个方向。
差速器总成18安装在齿轮箱12中,通过一个大的后开孔,它通常被一个冲压金属盖密封。本发明的驱动轴总成有一个特殊的冷却器盖26,材料可以是铸造铝或铝合金等轻金属。冷却器封盖26提供了本发明的一个重要特性,如下所述。
当盖26附在齿轮箱12上时,在齿轮箱12内形成一个润滑油层30。热源充满润滑剂32预定的填充水平,这样可旋转的环形齿轮24形成差动齿轮传动装置的一部分18部分处理的润滑剂32 30和部分处理高于润滑剂润滑水库32最佳图2所示。
如上所述,当车辆处于运动状态时,差动齿轮总成的啮合齿轮是不断旋转的,尤其是环齿轮24和传动齿轮(未显示)。在车辆运行过程中,啮合齿轮的不断工作,内部摩擦产生的热量,使润滑油油库中的润滑剂32的温度升高30。本发明的驱动轴总成包括润滑油冷却系统,这降低了润滑油的操作温度32。
这个润滑油冷却系统由一个润滑通道34组成,它是在冷却器盖26中形成的,在这个例子中是由铝合金铸成的,以减轻重量。润滑油通道34通常是T形的,包括垂直通道36,水平的通道38。垂直进气通道36与水平通道38相交,形成两个出口分枝38A和38B,分别通向各自的轴管14和16。出口分枝38A和38B分别与各自的轴管14和16进行沟通,在分支机构的舷外端有40A和40B的出口,并在齿轮箱12的出口42A和42B之间。出口42A和42B位于齿轮箱12的套筒部分43中,靠近相应的轴管14和16的内端。
润滑油通道34的设计是为了调节对环形齿轮的旋转响应,更详细地解释如下。
通道34经由形成在竖直进气通道36的底部部分中的大入口44与润滑剂储存器30恒定地流体连通。从而当润滑剂储存器30充满润滑剂时,入口44充满润滑剂,如图3所示。 因此,当驱动轴组件10空转时,通道34也充满润滑剂到填充液位。
进气道44与可旋转的环齿轮24进行配置,使环齿轮24将润滑剂推入润滑通道34,如箭头41所示,当环形齿轮24旋转时,如图2所示。随着环齿轮24的速度增加,润滑油的数量增加到润滑油通道34增加,润滑油通道34的润滑剂上升超过填充水平,而润滑油油层的润滑油水平下降30。
垂直进气通道36和入口44的形状是为了减少流动阻力,并最大限度地流入进通道36,以响应环齿轮24的速度。因此,与环齿轮24的齿相比,进气通道36相对较宽,如图1,3所示,进气道44与32有同样的油高,如图2所示。
水平的通道38还被设计成减小环形齿轮24的较低速度处的流动阻力,因为水平通道38的深度大于通道38与进气口38的接合处处的垂直进气通道36的深度,如图1和2所示。 该增加的深度设计理念为当流过通道3的拐角,从垂直进气通道36进入水平分支38A和38B时的润滑剂可以减少流动阻力。
虽然26号封盖的润滑油通道34是为了减少润滑油的流动阻力而设计的,但是润滑油通道34也被设计用来限制润滑油在较高的齿轮转速下的流动。这通常是通过将出口分枝38A和38B垂直于垂直进气通道36来完成的。这需要润滑油通过通道34从垂直进气通道36转到出口分支38A和38B。这条垂直方向限制了润滑油流经通道34,在差动环齿轮24达到预定速度后,使润滑油流经通道34时相对恒定。
从附图中可以明显看出, 如图2和图3所示,出口40A,40B,42A和42B设置在入口44的上方并且在润滑剂储存器30中的润滑剂32的填充高度的上方。 当齿圈24达到预定的最小速度时,这些出口将润滑剂从润滑剂通道34输送到相应的轴管14和16 。
齿轮壳体12在套筒部分43中也有两个出口通道47。 出口通道47位于相应的轴管14和16的内端附近,并且位于支承可旋
全文共8826字,剩余内容已隐藏,支付完成后下载完整资料
资料编号:[11572],资料为PDF文档或Word文档,PDF文档可免费转换为Word
