

英语原文共 11 页,剩余内容已隐藏,支付完成后下载完整资料
疏散射频设备的测试管(频率508.58兆赫,600千瓦,功率和最大电场为194(千伏/米),设计出一个矩形真空密封法兰(470毫米至190毫米)。因为该设计不是商业化的标准类型,所以我们很难节省设计原材料。
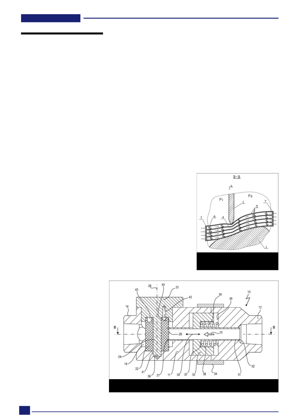
图1(a)为测试管制造业的横截面,矩形法兰连接泄漏测试。不锈钢(SUS304)测试管为内表面,涂有12毫米5毫米厚的铜(其中不包含密封面法兰)。法兰盖采用不锈钢(SUS304)和无氧铜(c1020),进行试验。将有凹槽的空白法兰加工成扁平表面,如图1(b)所示。不锈钢制成的空白法兰也镀上了铜。试验槽的法兰有与空白法兰相似的凹槽,但有凸起的部分突起,如图1(c)所示。在无氧铜(c1020)的一侧表面金属垫片有一个类似的凸起的投影,而另一面是平的,如图。1(d)和2。法兰凹槽和金属垫片的表面被抛光到光滑度达到3.2以上。
相应的作者。
电子邮件地址:”Saeki spring8.or.jp(Saeki H)0042 207x / 2011年爱思唯尔有限公司。保留所有权利。DOI:10.1016 / j.vacuum.2011.01.009
法兰的无氧铜金属垫片,小于112。测试管的也有两个端口(icf070),连接到一个真空抽气系统。
法兰螺栓与金属垫片的电接触,达到理想的接触,说明在部分D和E在图1(d)。两法兰之间的最大台阶高度为1毫米。在此之后,泄漏测试(10分钟)的13进行真空密封,使用氦质谱检漏仪(莱宝ul200)。可以很容易地确定何时与金属垫片接触,在D和E节所示的区域,由于螺栓拧紧力矩突然增加。图1(d)中所示的空间F中的气体通过两个气体出口凹槽(宽度为2毫米,深度为0.3毫米)在垫片D部分挤压出来。
在两个程序(100 C,12小时)之前和之后,在泄漏测试中没有发现泄漏大于10立方英尺。在这些试验之后,用光学显微镜检查两个空白法兰的密封面。在表面上的密封面,密封面上的密封标志的深度为无氧铜法兰不锈钢,其小于2毫米兰和小于10毫米。最终使密封面保持平整,没有损坏,因为只有垫圈上凸起凸起的顶部变形。
在将来,将对试验管道进行完整的机电试验。这种改进的真空密封,组成凹槽和两侧的突起金属垫片将用于复杂形状的法兰。事实上,这种改进的真空密封现在在市场上拥有合理的价格,并已应用于其他超高真空应用。
本人非常感谢在美国的P. M. Stefan先生,Y. Ohashi博士和T. Magome博士。在他们的建议下完成这篇论文。
1〕赫尔曼步入K,F,D点的新schmuuml;ser休伯特,法兰设计为特斯拉超导腔。在8射频超导阿巴诺温泉研讨会;1997年,。457页。
〔2〕H·松本,该开发的真空法兰的高功率RF应用。在直线加速器会议24日在日本札幌,1999年。P. 271。。
真空中需要解决的关键真空技术问题
管道运输
摘要:真空管道运输(ETT)将其中的ultra-large.scale真空应用领域。本文
列出一些关键问题(真空技术中如何构建超大型真空室):
(1)成本低、可靠性高,(2)如何疏散气体的真空管道在短时间内,(3)如何释放热量或降低温度的真空管,(4)如何避免真空放电,(5)如何让车辆密封壳体和生命支持系统,以及(6)如何有效地检测泄漏和发现泄漏位置。
提出解决方案。
关键词:真空技术;真空管运输;真空管;磁悬浮
1引言
与发达的互联网或信息技术相比,目前的交通运输形势似乎很不景气,人们期待着新型的更快,更舒适,更加环保运输方式。高速铁路的速度为350km/H,在中国运营中的上海磁悬浮列车的速度是430km/H,山梨磁悬浮列车在日本已达到581km/H。然而,与真空管相比,它们依旧相形见绌,并且传统火车释放出气动噪声和电场,因此将列车和真空管道运输结合更好,即把磁悬浮放入真空管ETT。磁悬浮的奔跑速度600-1000km/可以在高真空中实现,例如,6000公里/H甚至超过10000km/H[ 4 ]。然而,就科学家们的研究而言,只有少数研究一直在为EETT进行。在真空中运输和真空技术问题以及操作磁悬浮依旧是需要研究和解决的问题。
本文列举并讨论了需要解决的一些关键技术问题,真空管
2、构建超大型真空室
ETT真空室将圆管
通过对1000-15000公里有长度和内径。这么大的真空室的建设费用必须认真计算。我们应该选择可行的建筑材料和设计结构应该作为如何构建的首先考虑。
超大型真空室具有成本低、可靠性高等特点。普通钢和水泥是廉价的建筑材料,它们也适合做一个真空管的材料。真空管材料建议:
2.1纯钢管
纯钢管的优点是方便使用。保证密封和成本,中国钢材市场目前的价格约为1000元人民币的5吨。我们假设管壁厚20mm、18mm、16mm和14mm,以5m,4m,3m,2m,分别内径管,成本如图的基本材料成本钢管每公里显示如表1所示
2.2钢与混凝土复合结构管
为了进一步降低材料成本和提高真空管的强度,复合结构管是可以使用的。如图所示的复合结构管是由薄壁混凝土层和外钢内筒
在这种情况下。钢内管壁厚度可以小于10毫米甚至3毫米。因为混凝土的价格远低于钢材价格所以管壁总厚度可以增加总的材料成本,此外,抗压强度会随其增加而降低,这对于真空管具有重要意义。
钢外密封层也可以考虑在混凝土管外,在这种情况下,其优点是在受到大气压压缩时,钢层不可能粘在混凝土管上,缺点是钢层容易损坏或腐蚀。
2.3钢肋混凝土管
如果某些类型的薄膜或密封材料低价格合适,可用钢筋混凝土管。
3.抽气的真空管
如何有效地将气体从管管在短时间内是真空系统的另一个关键因素。一个超大型的真空室,将气体从它会很短的允许时间,例如疏散气体从主干管1-2小时内疏散的气体在几分钟内就必须达到每1或2公里安装气闸舱、真空泵或泵组,且泵送速度应足够大。
ETT线密封隔离门
可以在每5-10公里设置密封隔离门。如图3所示的隔离门的功能是使气体从管排除。毕竟隔离门关闭气体防止其泄漏到真空管。当气压达到规定值在每一节的所有真空泵停止工作,所有的隔离门是打开的然后列车可以运行通过。该隔离栅极的另一个功能是便于检查各部分的真空管密封和泄漏是整个管检查密封和泄漏困难。在目前的真空泵中,罗茨泵从ETT管抽出气体具抽速为最大并且简单结构和价格低,最大泵罗茨真空泵的速度超过12000L/秒。
4.在真空管内释放加热器
真空管道中有一些导致温度上升的热源:
(1)电动装置如直线电机驱动磁悬浮列车。
(2)磁悬浮列车在真空管中高速运转时,空气动力学加热,管内也会有一点气体,因为它内部会有粗真空。
(3)磁悬浮列车释放热量。
(4)太阳辐射热量通过放在地上的ETT管。
因为没有空气对流ETT管和真空环境作为热绝缘介质,在真空管的热积累和温度会持续上升。因此,我们必须找到方法来释放热量。
(1)我们应该选择管壁的结构和材料,促进释放热量。在这时,由于不锈钢的导热系数比普通钢高,管壁厚度应尽可能薄。
(2)ETT管应放在尽可能远地因为有一个恒定的温度环境下,没有地面太阳辐射。
(3)一个循环冷水的金属管,减少在ETT管温度是有效的。具体的方法是在[ 8 ]讨论。
(4)与驱动系统的外部安全系统
该管对于减少管内的热量是有效的。详细的方案如图9所示。
5、避免真空放电
电很容易在真空中放电。真空放电特性一般不考虑在开放空间的磁悬浮列车的一些电气元件要在真空管为了避免真空放电在ETT管提出了建议考虑如下:
(1)禁止在ETT管安装绝缘线。
(2)保持远离直线电机线绝缘导线或电极,除了一些绝缘的直线电机。从其他非绝缘电线或电极间隙应注意安全。
(3)不使用绝缘导线在磁悬浮。一些电线或电极,在真空管与其他非绝缘导线或电极间隙应保持一个安全的磁悬浮列车绝缘。
6、用密封壳和生命支持系统制造车辆
ETT的车辆将运行在一个真空的环境。
在车辆和0.01-0.000 1 ATM 1 ATM(1013-10.13pa)以外的车辆如图4所示。
因此,车辆的设计应遵循以下三个原则:
(1)ETT车壳必须密封和坚强的承受内压的车辆。
(2)必须提供氧气,空调必须安装在客车内。
(3)需要在客运车辆中的生命支持系统。
有必要制造密封外壳的车辆。
密封保持系统虽然可以用现有的航天器技术使ETT的车辆是需要进一步研究的关键问题。
7、有效检测泄漏和发现泄漏位置
煤气泄漏会破坏一个真空管的真空环境和增加维持真空的成本。有三个资源,导致煤气泄漏:
(1)管壁裂纹;
(2)密封缺陷如急救通道泵出口连接位置,和之间的管段连接点;
(3)气闸在车站;
这种超大型真空室每天测量和泄漏检测是非常重要和具有挑战性的,但是,氦质谱检漏方法不适用,一些有效的检漏方法和泄漏位置的有效检测方法如下所示:
(1)隔离门必须设置在真空管底线隔离门每小于5一l0km 间距相邻的隔离门,例如,每2公里将协助检测气体泄漏。但增加建设成本,检查磁悬浮列车运行的危险。应该关闭所有的隔离门和检查所有段SOF整条生产线包括在各部位的气体泄漏检测。
(2)关闭隔离门后,观察真空表可以发现这段漏水,部分人会安装真空表更密集,例如,一个真空表的每一20-100m观察一段真空计,可以完全气体泄漏位置。
超声检测也适用于真空管。
8、结论与建议
根据以上分析,提出了一些基本结论和建议:
(1)纯钢管与钢-混凝土组合结构管适用于ETT管。
(2)需要每1或2公里安装真空泵,设置密封隔离门每5-10公里沿气管线。
(3)应综合考虑如何在真空管的热释放和如何避免大量的太阳辐射。
(4)不要把电线在ETT管绝缘电线或电极尽可能不得不从其他非绝缘电线或绝缘的电极间隙应注意安全。
(5)对真空管道气体泄漏应检测
用隔离门隔离不同的管段。
本文涉及的一些关键技术问题需要解决在真空管和一些解决方案已经提出,事实上仍有许多真空技术问题需要讨论和优化的解决方案。真空技术
在ETT将是未来交通系统的重要应用领域
致谢
作者要感谢的支持
由中国国家自然科学基金会提供的动机(no.50678152)和陕西省科技计划基金(no.2009k09-24)。
不同密封件的密封方案
意大利浓咖啡咖啡机的径向密封
申请人:Ariete Spa,意大利
意大利浓咖啡咖啡机上的过滤器附件用这种专利描述。设计的具体功能包括一个意味着相应的密封空间干扰和水压力。专利号:WO 2011/079874
发明者:M. Picchi和C. Rosa
出版日期:2011年7月7日
用于车辆冷却风扇罩组件的密封件
申请人:AGCO公司,美国
本发明涉及一种冷却风扇罩组件,已开发利用的农业车辆。该设计使一个紧凑的装配排气和冷却系统是由覆盖散热器从排气系统的创建。专利号:WO / 2011 / 080561的发明者:S.M. Entriken和J.A. Peterson
出版日期:2011年7月7日
可固化液体硅橡胶
本发明涉及一种用于固体氧化物燃料电池堆的玻璃陶瓷密封。固体氧化物陶瓷包括在其表面的至少一部分上的密封涂层。该密封件包括晶体相和残余玻璃相,其热膨胀系数等于或小于基板的热膨胀系数。组成的玻璃结晶温度和玻璃化转变温度不同–在大约200°C和400左右°C的范围,大约在20°C/min,专利号加热速率:窝/ 2011 / 081736
发明者:美国Parihar、G. Querel和M. Gich
出版日期:2011年7月7日
模块化电池的聚合物压缩密封
申请人:美国闪电能源公司
本专利提供了一堆多电池聚合物压缩密封结构细节。可压缩的互连链路的第一和第二电池,而聚合材料持有第一电池和第二电池,在压缩状态的连接。还提供了实现这一点的方法的详细信息。专利号:WO 2011/081647
发明者:D. Culver,dyerand马丁爱泼斯坦C.K.
出版日期:2011年7月7日
固体氧化物燃料电池堆用玻璃-陶瓷密封
申请人:圣戈班陶瓷及塑料有限公司,美国
这使得介质能够绕圆柱形阀座的外围流动。这种设计允许在不需要完全拆卸阀门的情况下进行清洗程序,因为阀座可以从阀体侧拆卸。座椅也可以轻松更换。
专利号:WO 2011/080105
出版日期:2011年7月7日
具有不同外形的移动元件的密封方法
申请人/发明人:A. Akhmejanov,哈萨克斯坦
本发明涉及一种用不同的Pro文件密封运动元件(1)的方法。这是通过固定的运动要素之间进行(1)弹性密封接触,有若干层
(4)-但不超过六-由强材料(例如金属)的条(5)形成。这个设计包括恒温装置、增压器和一个接触援助包含多层弹性密封接触。
专利号:WO 2011/084040
出版日期:2011年7月14日
技术编辑器的注释:实际配置和系统从描述中不明显
全文共8413字,剩余内容已隐藏,支付完成后下载完整资料
资料编号:[16681],资料为PDF文档或Word文档,PDF文档可免费转换为Word
