

英语原文共 15 页,剩余内容已隐藏,支付完成后下载完整资料
(54)攀岩训练装置
(71)申请人:Bruce Bowers, Honeyville, UT(US)
(72)发明人:Bruce Bowers, Honeyville, UT(US)
(21)申请号:15/404,507
(22)申请日期:2017年1月12号
相关的美国专利数据
(60)2016年1月12号的临时专利申请号N0.62/277,800
出版分类
(51)Int.Cl.
A63B 69/00 (2006.01)
A63B 22/00 (2006.01)
A63B 21/00 (2006.01)
A63B 22/04 (2006.01)
(52)U.S.Cl.
CPC....A63B 69/0048(2013.01);A63B 22/04
(2013.01);A63B 22/0023 (2013.01); A63B
21/4007(2015.10);A63B 21/4009(2015.10);
A63B 21/4011(2015.10);A63B 2220/56
(2013.01)
摘要
本文公开了一种健身器械,它包含了一个输送机构,该机构包含一个连续轨道和多个在闭环路径中沿连续轨道移动的杆。这些杆在输送机构的宽度上沿横向方向纵向延伸。输送机构有前侧面和与前侧相对的后侧。杆沿着输送机构的前侧向下移动,并沿着输送机构的后侧向上移动。向上方向和向下方向均与横向垂直。输送机构还包括多个可以沿杆横向方向移动的滑架组件,另外输送机构的每个滑架组件上还有至少一个与之相连的支撑点。
图1
图2 图3
图4
图5
图6
图7
图8
图9
相关专利申请的交叉引用
[0001] 本 专 利 申 请 要 求 于2016年 1月12日 提 交 的 美 国 临 时 专 利 申 请 号N0.62/277,800的优先权,其内容以引用方式并入于此。
技术领域
[0002] 本发明大体上与运动设备有关, 更具体地来说, 是一个用来帮助用户模仿攀岩动作的训练装置。
背景技术
[0003]攀岩是一项有趣而且令人兴奋的运动,它让人们以一种独特的方法来探索户外,同时也为参与者提供有益的锻炼。然而, 为了达到足够熟练的攀岩水平, 参与者需要学习攀岩技巧和策略, 并在一个安全和受控的环境中训练。
[0004] 常规的攀岩训练是非常不方便的,因为参与者通常需要前往专门的有人造攀岩墙的攀岩体育馆,或者是前往一个自然界中能为参与者提供训练的真实的岩层。去训练地点或者从训练地点回来都是非常昂贵而且耗时的。虽然有一些传统的可以组装在用户家中的转动攀岩墙, 但他们往往需要在房间里占用一块广阔的空间 (例如,加高了的屋顶等), 并且没有良好的配置以提供足够的训练和锻炼。
发明内容
[0005]本发明的主题是根据与攀岩训练相关的最新技术发展而来的。因此,这个主题会作为一种用于训练攀岩者或提供康复治疗的装置而被开发,其克服了现有技术的许多,全部或一些缺点。
[0006] 本文公开了一种健身器械,它包含了一个输送机构,该机构包含一个连续轨道和多个在闭环路径中沿连续轨道移动的杆。这些杆在输送机构的宽度上沿横向方向纵向延伸。输送机构有前侧面和与前侧相对的后侧。杆沿着输送机构的前侧向下移动,并沿着输送机构的后侧向上移动。向上方向和向下方向均与横向垂直。输送机构还包括多个可以沿杆横向方向移动的滑架组件,另外输送机构的每个滑架组件上还有不只一个与之相匹配的支撑点。本段的前述主题描述了本发明的示例1。
[0007] 当杆沿输送机构的后侧向上移动时,滑架组件可沿着杆横向移动。当杆沿着输送机构的前侧向下移动时,滑架组件沿着杆在横向方向上是不可移动的。本段的前述主题描述本发明的示例2,其中示例2还包括上述示例1的主题。
[0008] 该健身器械还包括在输送机构的后侧配置的复位系统,用以沿杆方向横向复位滑架组件。本段的前述主题描述了本发明的示例3,其中示例3还包括上述示例2的主题。
[0009]复位系统包含多条导轨。当滑架组件与杆沿着输送机构的背侧向上移动时,滑架组件与导轨咬合。导轨推动滑架沿杆的横向方向移动。本段的前述主题描述了本发明的示例4,其中示例4包含上述示例3的主题。
[0010]复位系统此外还包含至少一个平移驱动器,它可以选择性地工作,以沿杆方向横向推动滑架组件。本段的前述主题描述了本发明的示例5,其中示例5包含上述示例4的主题。
[0011]多根杆中的每一根杆都只在其第一侧面包含第一类啮合特征。多个滑架组件中每一个滑架组件都具有第二类啮合特征。只有在多根杆都在沿着输送机构的前面向下运动时,杆的第一类啮合特征和滑架的第二类啮合特征才是可接合的,这是为了防止杆和滑架的相对运动。本段的前述主题描述了本发明的示例6,其中示例6包含上述示例4和示例5的主题。
[0012]输送机构的连续轨道呈长圆形或者卵形。本段的前述主题描述了本发明的示例7,其中示例7包含上述示例1到示例6的主题。
[0013]滑架机构与杆可滑动地连接在一起。本段的前述主题描述了本发明的示例8,其中示例8包含上述示例1到示例7的主题。
[0014] 本健身器械还包括联接到所述多个杆的隔板,隔板设置在所述多个杆的相邻杆之间,以防止手指和衣物被夹在相邻的杆之间。本段的前述主题描述了本发明的示例9,其中示例9还包括根据上述示例1到示例8中的任一个的主题。
[0015] 本健身器械还包括一个身体支撑机构,其被配置成部分地将用户悬挂在空中。本段的前述主题描述了本发明的示例10,其中示例10还包括根据上述示例1到示例9中的任何一个的主题。
[0016]身体支撑机构是可以调节的,以提供不同大小的支持力。本段的前述主题描述了本发明的示例11,其中示例11包含上述示例10的主题。
[0017] 身体支撑机被设计成与使用者的腰部、膝盖或躯干中的至少一个部位相结合。本段的前述主题描述了本发明的示例12,其中示例12还包括根据上述示例10或示例11中的任何一个的主题。
[0018]身体支撑机构包含一个背带。本段的前述主题描述了本发明的示例13,其中示例13还包括根据上述示例10到示例12中的任何一个的主题。
[0019] 输送机构是第一输送机构。 该健身器械还包括第二输送机构。 第一和第二输送机构的转速是独立可调的。本段的前述主题描述了本发明的示例14,其中示例14还包括根据上述示例1到示例13中的任何一个的主题。
[0020] 至少一个滑架组件或支撑点装有压力传感器,用以判断用户是否正在抓握支撑点。本段的前述主题描述了本发明的示例15,其中示例15还包括根据上述示例1到示例14中的任何一个的主题。
[0021]每一个支撑点都是可以动的,在相对于与之配对的滑架组件的垂直向上方向、向下方向和横向方向的突出方向上都是可移动的。本段的前述主题描述了本发明的示例16,其中示例16还包括根据上述示例1到示例15中的任何一个的主题。
[0022]本健身器械还包含联接到并且至少部分地覆盖杆的表面材料。本段的前述主题描述了本发明的示例17,其中示例17还包括根据上述示例1到示例16中的任何一个的主题。
[0023]本健身器械还包括限定固定轴线的倾斜机构。输送机构可以绕倾斜机构的固定轴转动。本段的前述主题描述了本发明的示例18,其中示例18还包括根据上述示例1到示例17中的任何一个的主题。
[0024]本专利同时也为用户提供了一种锻炼方法。这种方法包含沿着第一面的第一个方向向下转动多根杆和沿着第二面的第二个方向(与第一方向相反)向上转动多根杆。这种方法还包含将支撑点和杆可移动地结合在一起。此外,这种方法还包含沿杆的第三方向移动支撑点至第一位置,其中第三方向与第一和第二方向垂直,此时杆向上旋转至第二方向的第二侧。这种方法还包括可释放地将支撑点固定在第一位置,此时杆向下旋转至第一位置的第一侧。本段的前述主题描述了本发明的示例19。
[0025]这种方法还包括将支撑点沿杆的第三方向从第一位置移动到与第一位置不同的第二位置,此时杆转动至第二方向的第二侧。这种方法还包括可释放地将支撑点固定在第二位置,此时杆向下旋转至第一位置的第一侧。本段的前述主题描述了本发明的示例20,其中示例20也包含上述示例19的主题。
[0026] 本发明的主题所描述的特征、结构、优点和/或者特性可以以任何合适的方式在一个或多个实施例和(或者)实现方式中组合。在下面的描述中,提供了许多具体细节以便透彻理解本发明主题的实施例。相关领域的技术人员将认识到,可以在没有特定实施例或实现的特定特征,细节,组件,材料和(或)方法中的一个或多个的情况下实践本发明的主题。在其他情况下,从特定的实施例和(或)实现方式中可以辨认出附加的特征和优点,这些特征和优点可能并不会存在于所有的实施例或实现方式中。此外,在某些情况下,不详细显示或描述众所周知的结构、材料或操作, 以免混淆本发明的主题。从以下描述和所附权利要求中,本发明主题的特征和优点将变得更加显而易见,或者可以通过下文所述主题的实践来学习。
附图说明
[0027]为了使本专利主题的优点易于理解,将通过参考在附图中的具体实施例来提供一个关于主题的更加具体的描述。应当理解,这些附图仅描绘了本发明主题的典型实施例,因此不认为是对本专利范围的限制,附加的特征和细节将用来描述和解释主题,这些附加的特征和细节通过以下附图来体现:
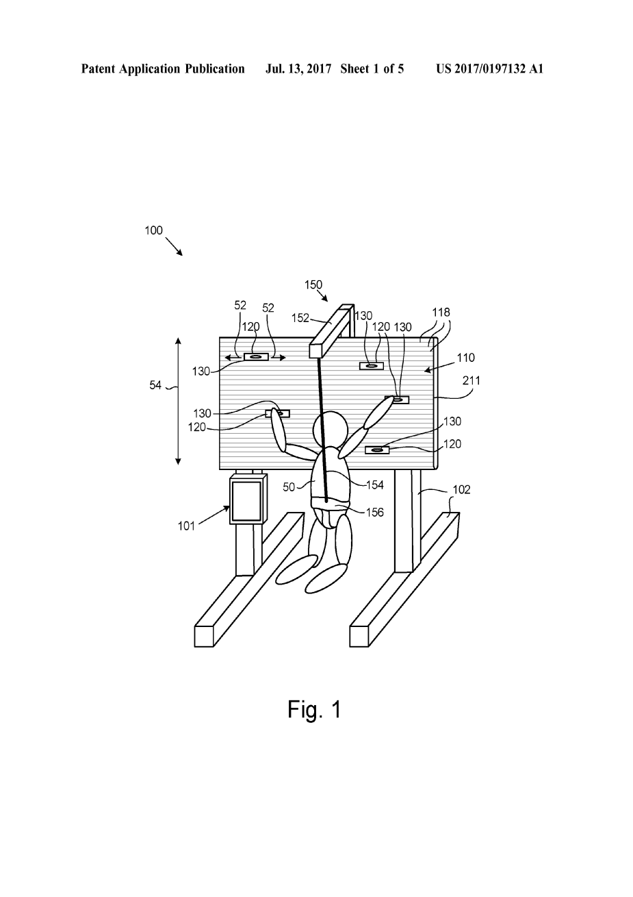
[0028] 根据一个实施例,图1是攀岩训练设备的示意性透视图;
[0029] 根据一个实施例,图2是具有长圆形的可转动的连续轨道的输送机构的侧视图;
[0030] 图3是另一个实施例的输送机构的侧视图,它展示了卵形的可转动的连续轨道;
[0031]根据一个实施例,图4是传送机构的前视图。
[0032]根据另一个实施例,图5是传送机构的前视图。
[0033]根据一个实施例,图6是连接到杆上的滑架组件的前视图;
[0034]图7是另一个实施例中滑架组件的前视图;
[0035]根据一个实施例,图8是连接到滑架组件上的支撑点的横剖视图;
[0036]根据一个实施例,图9是复位系统的前视图,它安装在输送机构背面用以对滑架组件进行横向复位。
具体实施方式
[0037] 在整个说明书中对“一个实施例”,“实施例”或类似语言的引用意味着在本发明中,至少有一个实施例中包含有结合该实施例描述的特定特征、结构或特性。在整个说明书中,短语”在一个实施例中”、“在实施例中”以及类似的语言的出现可以但不一定都指同一实施例。类似地,术语“实现”的使用意指具有结合本发明的一个或多个实施例描述的特定特征、结构或特性的实现方式,然而,如果没有明确的相关性来指示,则实现方式可以与一个或多个实施例相关联。
[0038]图1-9所示的是攀岩训练机的几个典型实施例。如本文中所述,攀岩训练机提供了几个相对于其它攀岩训装置和方法的显著优点和益处。然而,其优点并不限于所列几点,因为本领域的技术人员将在实践本发明时意识到其他优点也可以实现。例如,虽然本发明的攀岩训练装置可以用于学习,开发和改进攀岩技术,但假如在用户永久性或者暂时性地失去了他(她)的全部或者部分腿时,其也可以用于基本的锻炼和康复。
[0039] 图1是攀岩训练装置100(以下称为'装置')的一个实施例的示意性透视图。装置100包含一个驱动(例如转动)输送机构110的驱动器。在一些实施方式中,驱动器是诸如电机112(如图2和图3所示)的自动化驱动器,在另一些实施方式中,驱动器是诸如作用于使用者质量上的重力的手动驱动器。在本专利中,术语“电动机”一般指一种能为产品提供动力、施加或者是提供运动或动作的装置(例如电动机、磁动机、泵、驱动系统、引擎等)。输送机构110与框架102相连,以将输送机构110支撑在地面上方。在一些实施方式中,框架102包含可以安装在地面上的支脚,支脚的长度足以抵抗使用时施加在输送机构110上的倾覆力。在另一些实施方式中,框架102被安装到一个垂直的墙面(而不是地面或者地板)上,用以支持输送机构110。
[0040]输送机构110装有许多杆118或者是板条。杆118的强度和刚度足以支撑用户大部分的重量而不发生塑性变形。杆118可以是各种细长元件的任何一种。杆118在输送机构110的宽度上纵向延伸,并且可移动地连接并且固定在装置100的一个连续
全文共16045字,剩余内容已隐藏,支付完成后下载完整资料
资料编号:[10694],资料为PDF文档或Word文档,PDF文档可免费转换为Word
